- Partiron
- OEM Parts
- Polaris
- ATV
- 1994
- NORWEGIAN 400L 6X6 - N948740
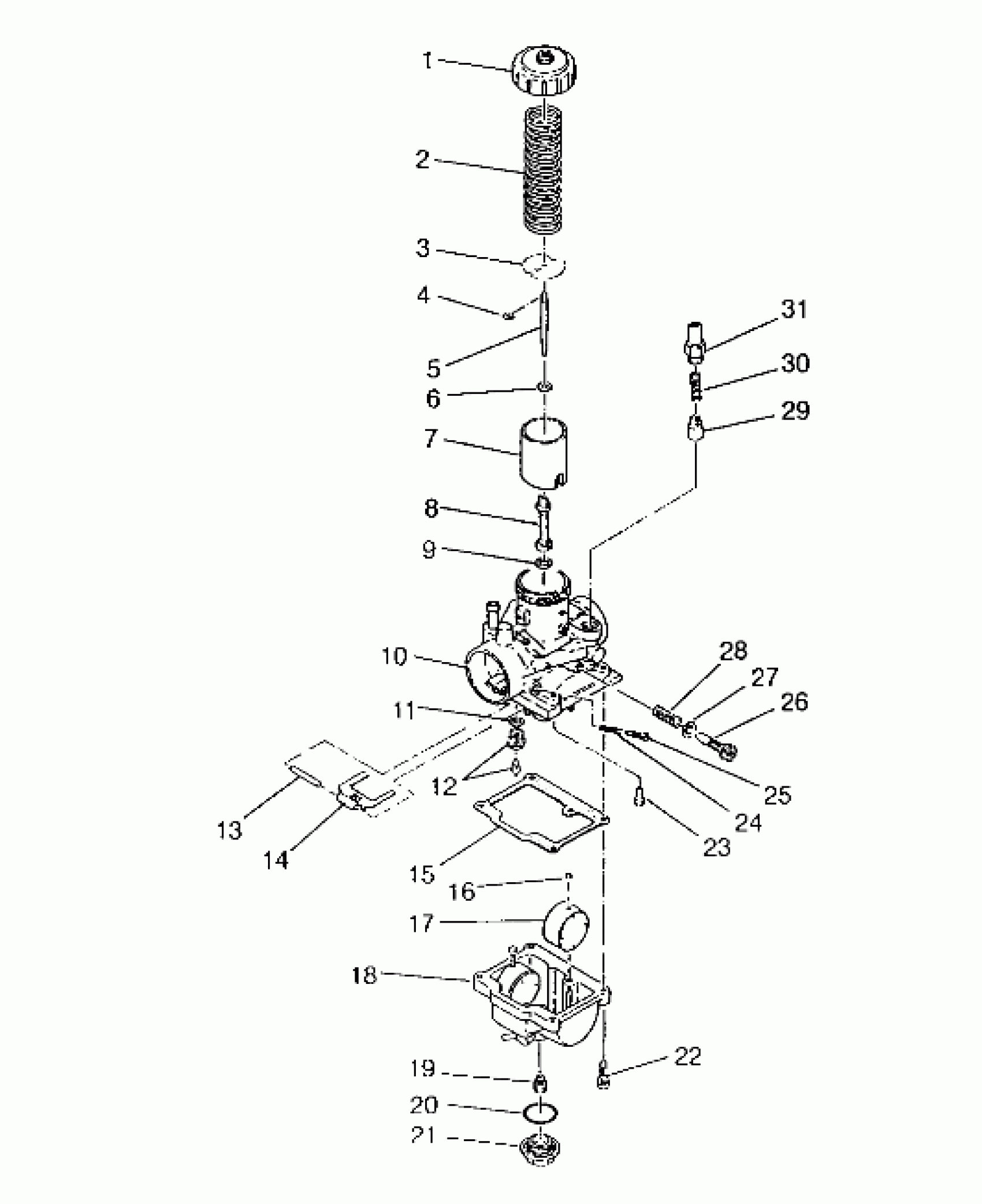
CARBURETOR 6x6 400L, SWEDISH S948740 and NORWEGIAN N948740 (4926812681052A)
Polaris NORWEGIAN 400L 6X6 - N948740 CARBURETOR 6x6 400L, SWEDISH S948740 and NORWEGIAN N948740 (4926812681052A) Diagram
#
Description
Price
4
E RING(10) Substituted by 3130508
3130003
Unavailable
5
JET NEEDLE,6-DH29 (6DH29-3)
3130462
Unavailable
7
VALVE,THROTTLE,(1.5) (1.5)
3130494
Unavailable
8
NEEDLE JET ASM.
3130429
Unavailable
9
RING, MAIN JET
3130393
Unavailable
10
CARBURETOR Substituted by 3130710 (Incl. 1-31)
3130493
Unavailable
18
BOWL, FLOAT (350)
3130443
Unavailable
20
O RING
3130239
Unavailable
27
Washer
3130447
Unavailable
28
SPRING,THROT.ADJ.
3130436
Unavailable
