- Partiron
- OEM Parts
- Sea-doo
- Pontoons
- 2026
- SWITCH - Sport Series
- SPORT 18 - 300 - 2026
- SPORT 18 - 300 - 49TB - Neo Mint - Trailer Galv - CAT-1-30-101 - Audio4 - 2026
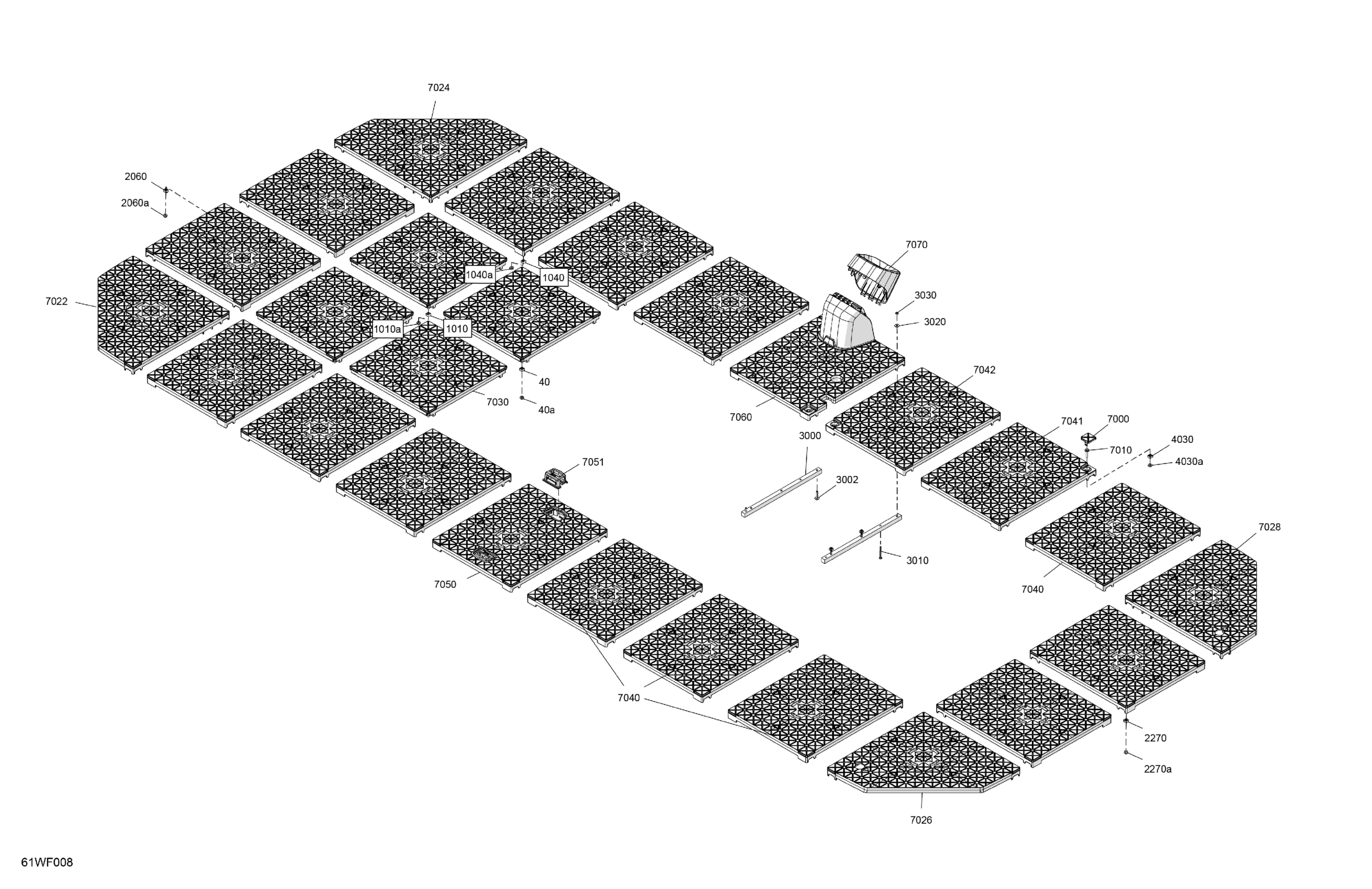
FLOOR - System Assembly
Sea-doo SPORT 18 - 300 - 49TB - Neo Mint - Trailer Galv - CAT-1-30-101 - Audio4 - 2026 FLOOR - System Assembly Diagram
#
Description
Price
