- Partiron
- OEM Parts
- Kawasaki
- motorcycle
- 1992
- Ninja® ZX™-7R
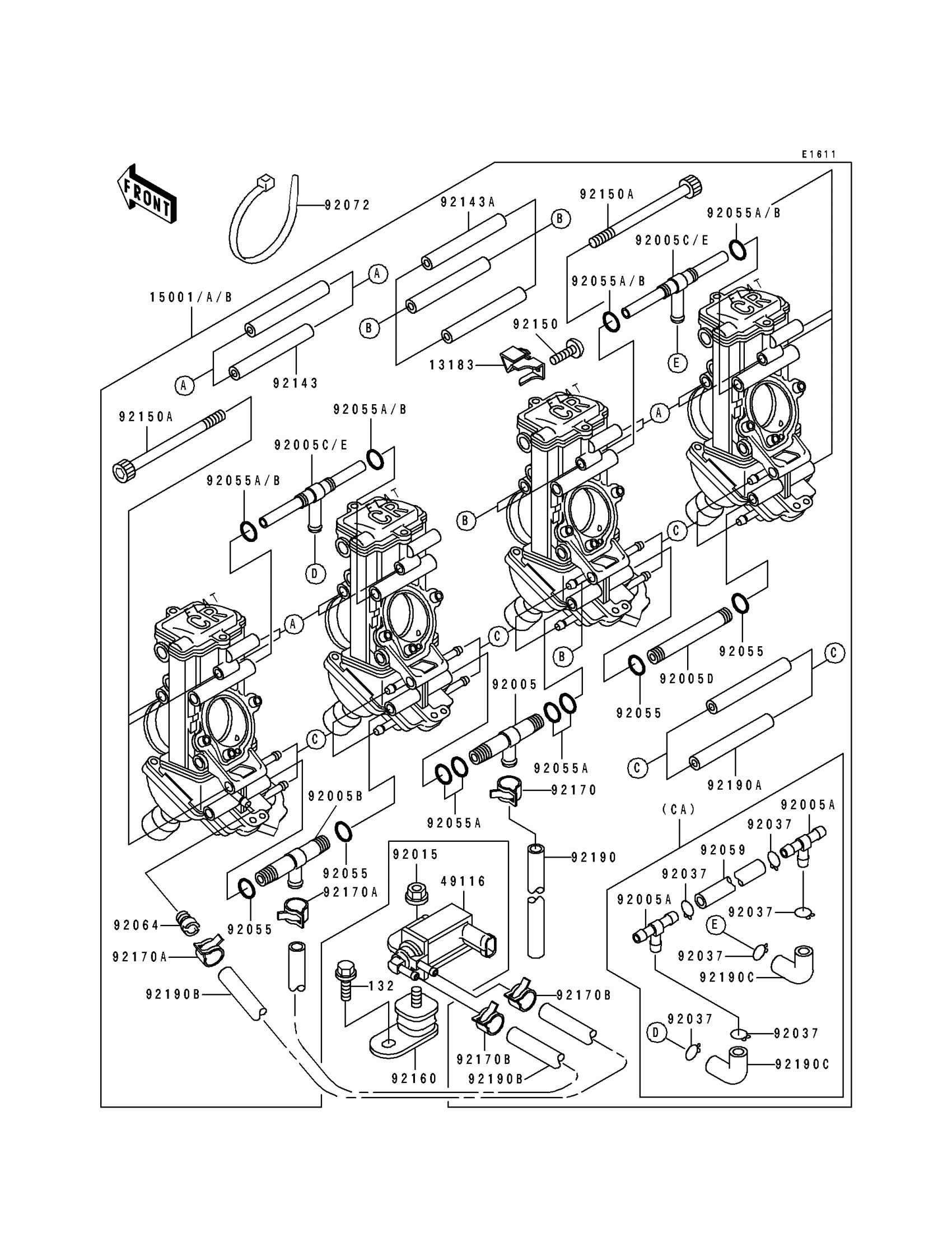
Carburetor
Kawasaki Ninja® ZX™-7R Carburetor Diagram
#
Description
Price
13183
PLATE,STARTER CABLE
13183-1744
Unavailable
15001A
CARBURETOR-ASSY
15001-1726
Unavailable
49116
VALVE-ASSY
49116-1086
Unavailable
92005B
FITTING,T-TYPE
92005-1179
Unavailable
92005C
FITTING,T TYPE
92005-1204
Unavailable
92059
TUBE,7X11X140
92059-1688
Unavailable
92150
BOLT,SOCKET,4X8
92150-1440
Unavailable
92160
DAMPER,VALVE
92160-1238
Unavailable
92170A
CLAMP
92170-1205
Unavailable
92170B
CLAMP
92170-1281
Unavailable
92190A
TUBE,ACCELERATOR,L=50
92190-1257
Unavailable
