Partiron

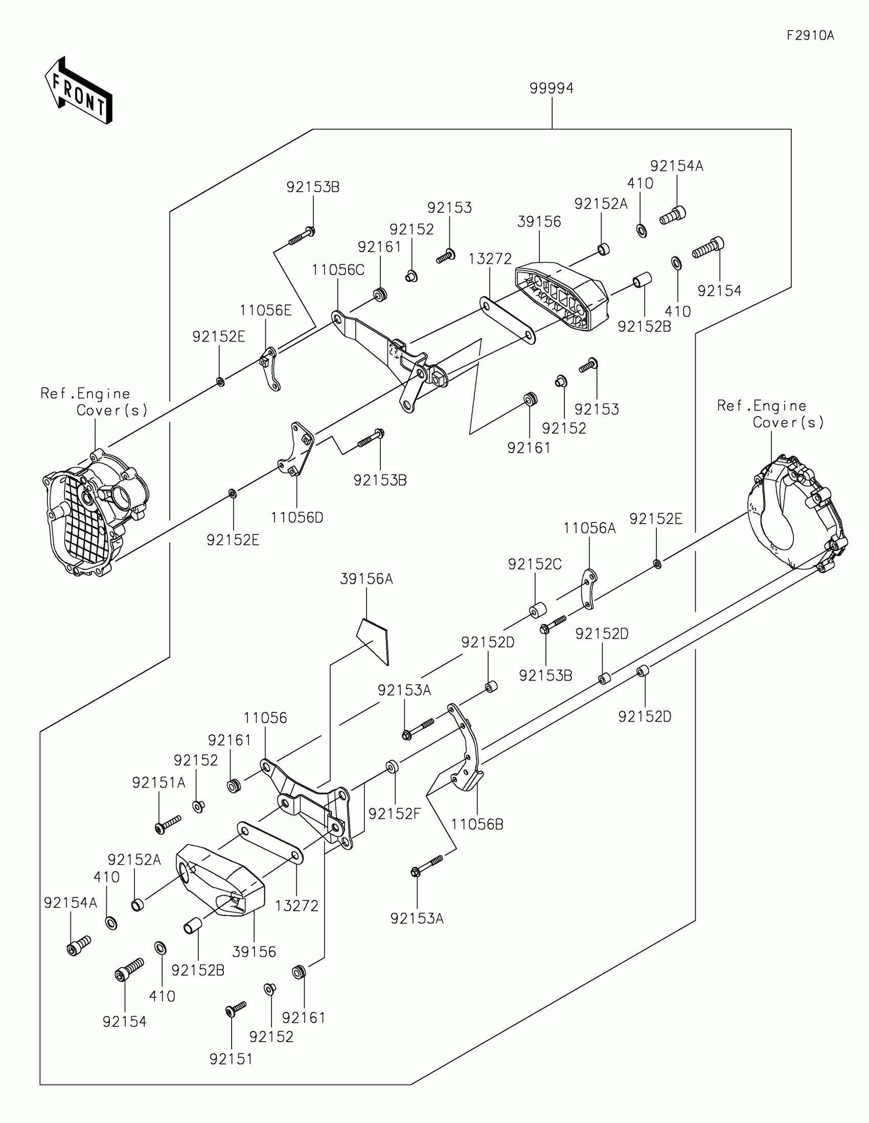
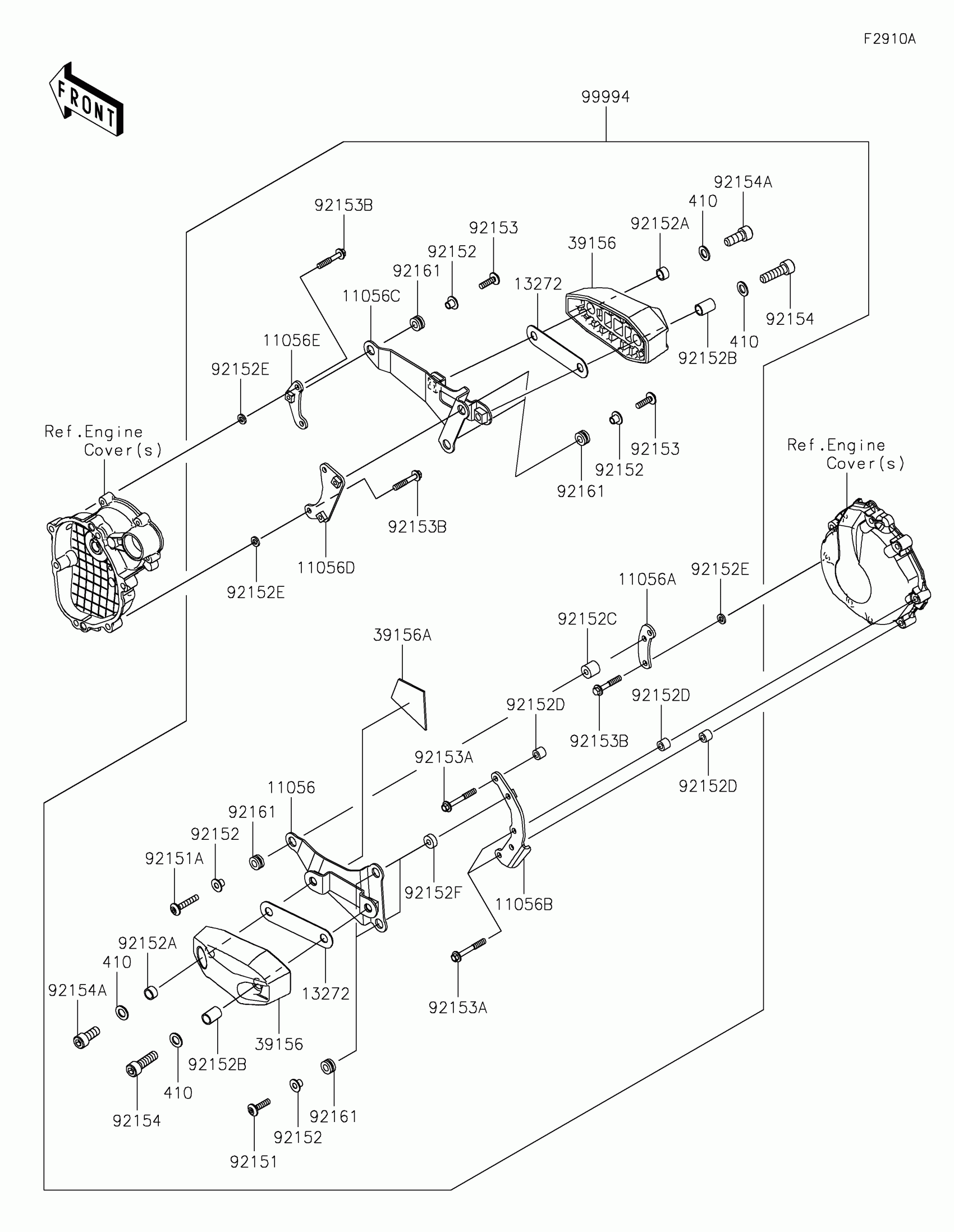
Kawasaki Ninja® ZX-6R Accessory(Frame Slider) Diagram

#

Description
Price

11056

BRACKET,PAD,EG. GUARD,LH

11056-2326

$65.22

11056A

BRACKET,FR,EG. GUARD,LH

11056-2327

$4.72

11056B

BRACKET,RR,EG. GUARD,LH

11056-2328

$16.35

11056C

BRACKET,PAD,EG. GUARD,RH

11056-2329

$65.23

11056D

BRACKET,EG. GUARD,RH,RR

11056-2330

$7.98

11056E

BRACKET,EG. GUARD,RH,FR

11056-2331

$4.72

13272

PLATE

13272-1440

$2.67

39156

PAD,ENGINE GUARD

39156-0758

$100.90

39156A

PAD

39156-0996

$8.51

92151

BOLT,SOCKET,6X25

92151-1611

$2.34

92151A

BOLT,SOCKET,6X35

92151-1835

$2.34

92152

COLLAR,6.3X8.3X9.2

92152-0237

$5.65

92152A

COLLAR,10.6X13.8X7.8

92152-1661

$1.63

92152B

COLLAR,10.6X13.8X19.8

92152-1662

$2.32

92152C

COLLAR,6.5X16X15

92152-1711

$6.34

92152D

COLLAR,6.5X12X10

92152-1712

$5.05

92152E

COLLAR,6.5X12X2

92152-1713

$3.71

92152F

COLLAR,6.5X16X6

92152-1727

$9.14

92153

BOLT,SOCKET,6X22

92153-1356

$2.15

92153A

BOLT,FLANGED,6X45

92153-1575

$2.15

92153B

BOLT,FLANGED,6X35

92153-1579

$2.15

92154

BOLT,SOCKET,10X35

92154-1146

$5.33

92154A

BOLT,SOCKET,10X25

92154-1147

$4.72

92161

DAMPER

92161-1545

$3.35

99994

KIT-ACCESSORY,EG GUARD

99994-0349

$239.48

410

WASHER-PLAIN-SMALL,10MM

410AA1000

$0.59