- Partiron
- OEM Parts
- Kawasaki
- motorcycle
- 1993
- Ninja® ZX™-11
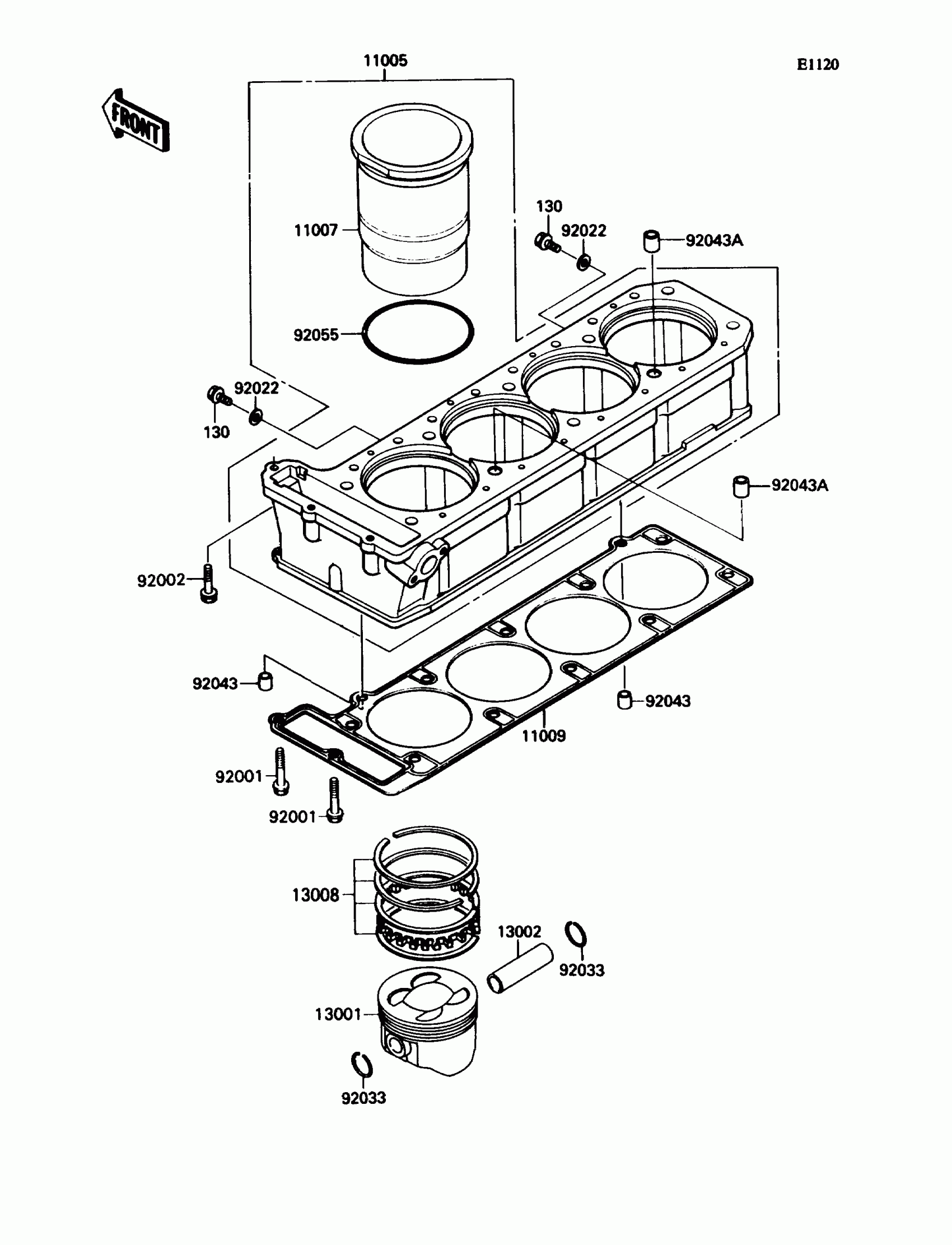
Cylinder/Piston
Kawasaki Ninja® ZX™-11 Cylinder/Piston Diagram
#
Description
Price
11005
CYLINDER-ENGINE
11005-1615
Unavailable
13001
PISTON-ENGINE,STD
13001-1342
Unavailable
