- Partiron
- OEM Parts
- Kawasaki
- motorcycle
- 1995
- Ninja® ZX™-11
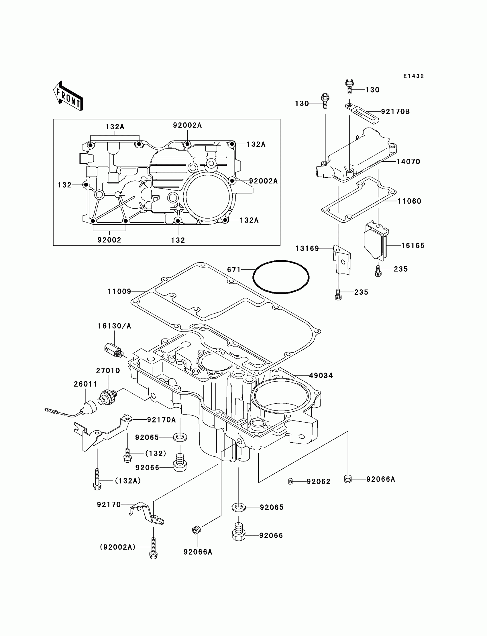
Breather Cover/Oil Pan
Kawasaki Ninja® ZX™-11 Breather Cover/Oil Pan Diagram
#
Description
Price
11060
GASKET,BREATHER BODY
11060-1339
Unavailable
92002
BOLT,6X25
92002-1344
Unavailable
