Partiron

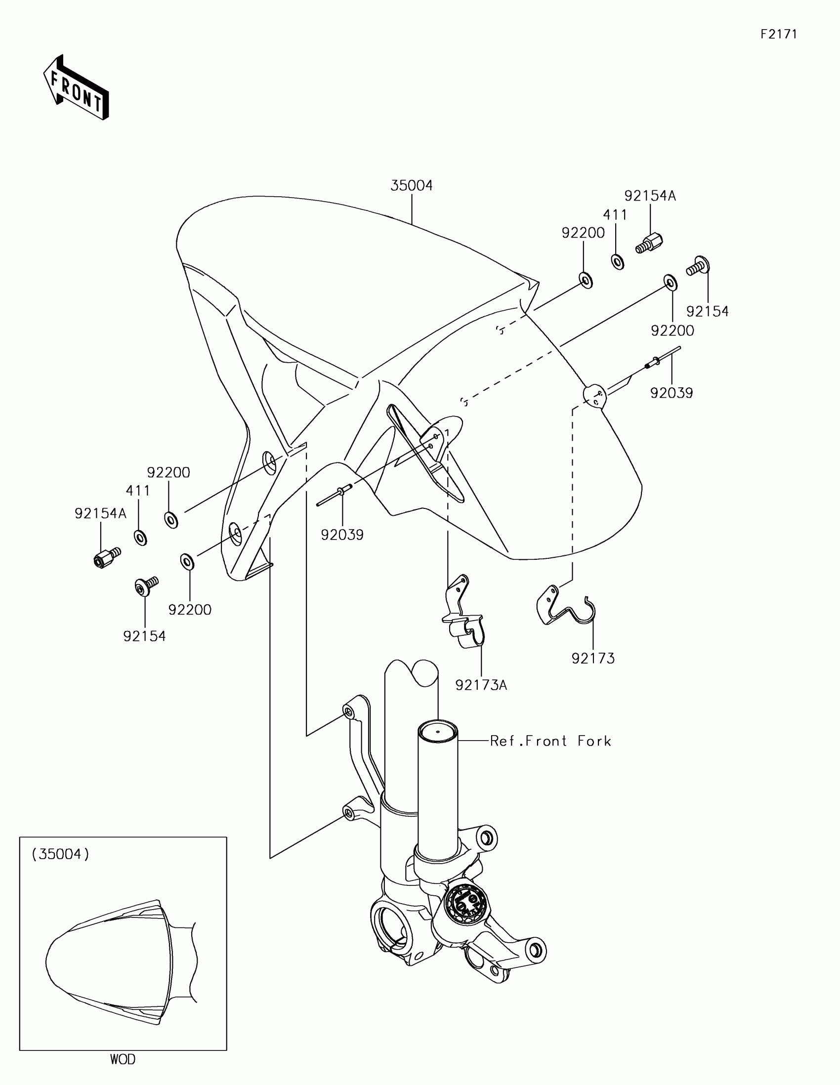
Kawasaki NINJA® ZX™-10RR Front Fender(s) Diagram

#

Description
Price

35004

FENDER-FRONT,F.EBONY

35004-0362-45L

$208.03

411

WASHER-PLAIN,6MM

411AB0600

$1.18

92039

RIVET,3.2X9.5

92039-0752

$0.95

92154

BOLT,SOCKET,6X14

92154-1735

$2.26

92154A

BOLT,6X12

92154-1908

$16.50

92173

CLAMP,FENDER,RH

92173-1481

$7.59

92173A

CLAMP,FENDER,LH

92173-1493

$10.21

92200

WASHER,6.5X14X1

92200-1388

$2.46