- Partiron
- OEM Parts
- Kawasaki
- motorcycle
- 1989
- Ninja® 600R
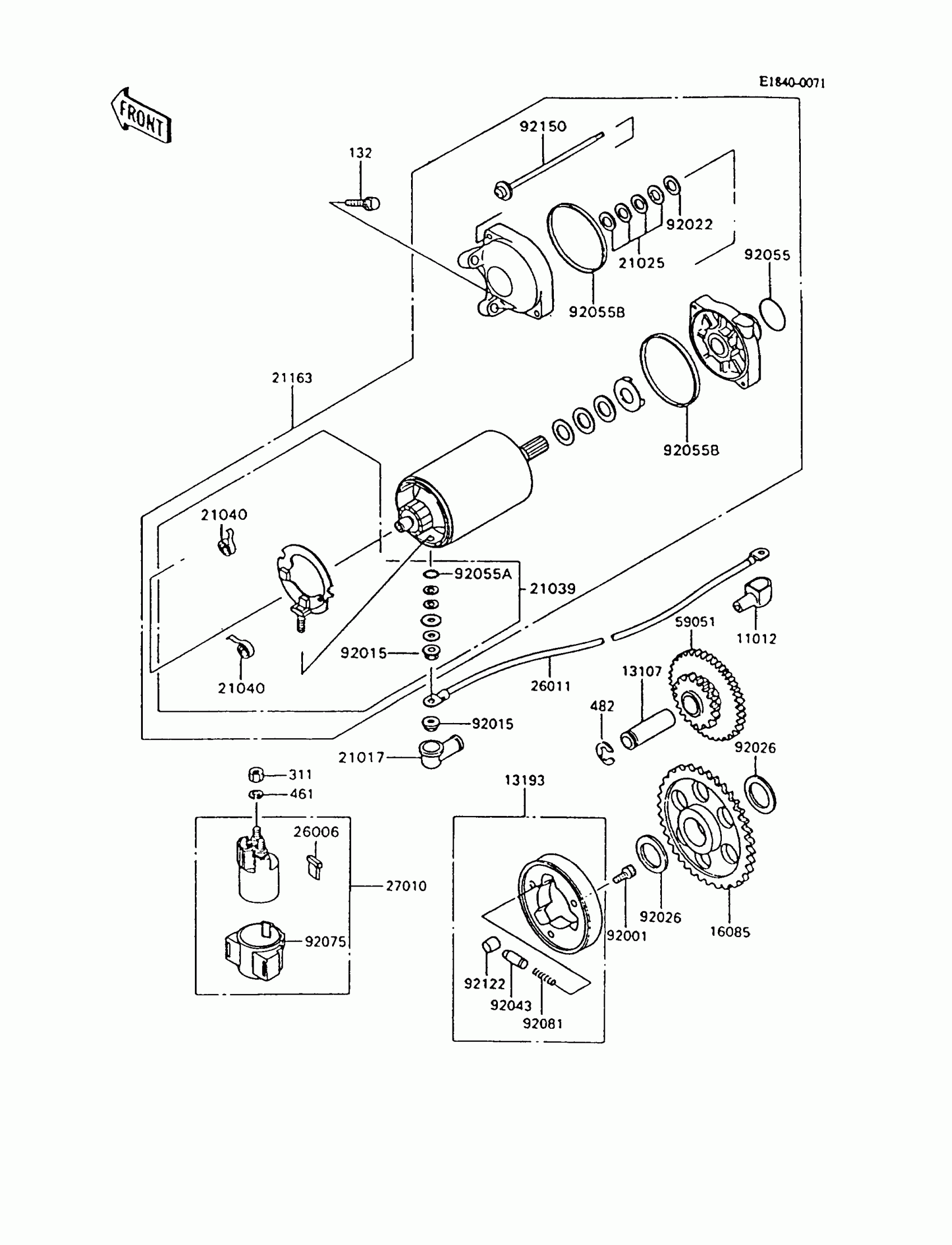
Starter Motor
Kawasaki Ninja® 600R Starter Motor Diagram
#
Description
Price
13107
SHAFT,IDLE GEAR
13107-1144
Unavailable
27010
SWITCH,MAGNETIC
27010-1213
Unavailable
59051
GEAR-SPUR,IDLE
59051-1138
Unavailable
92075
DAMPER,MAGNETIC SWITCH
92075-1863
Unavailable
