Partiron

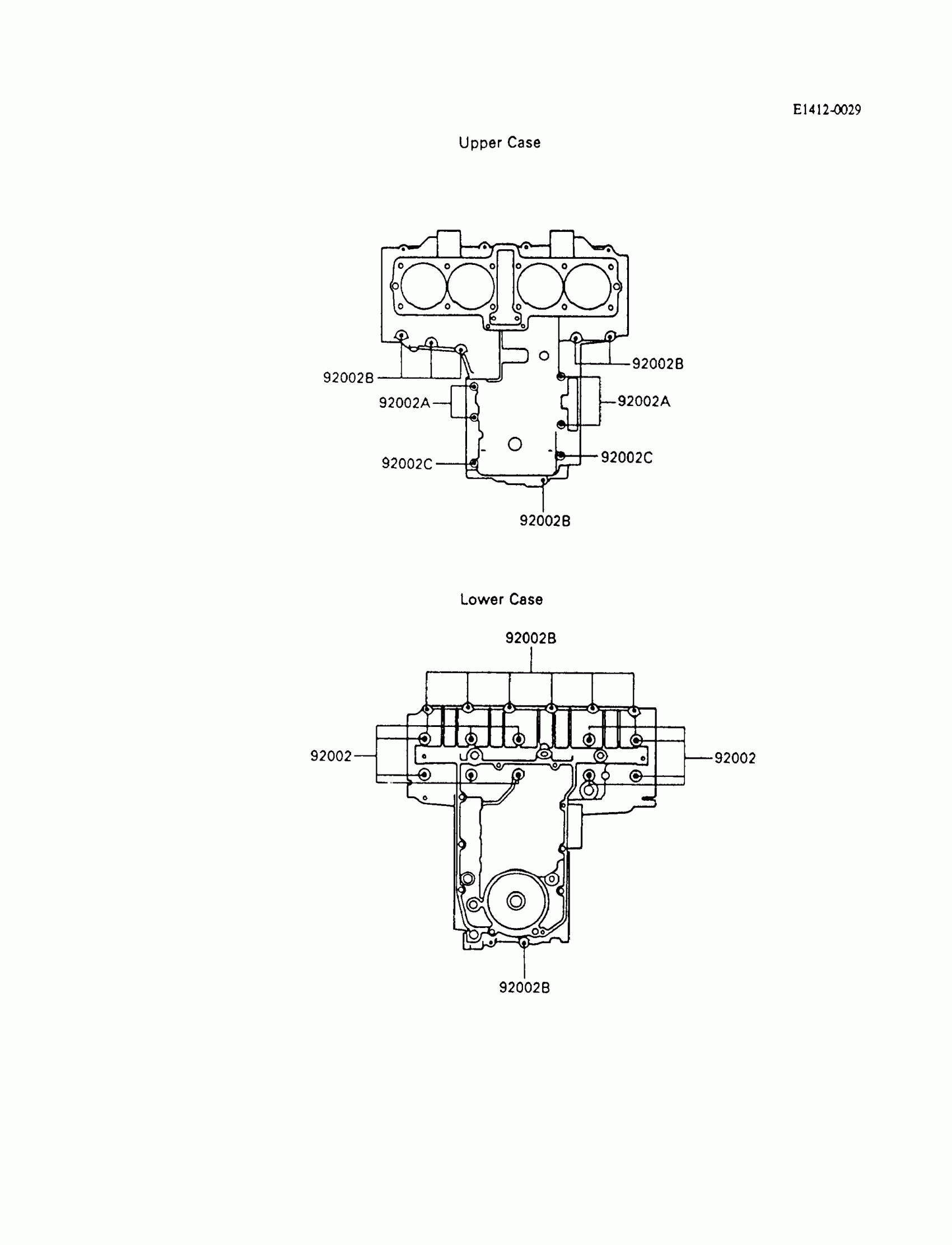
Kawasaki Ninja® 600R Crankcase Bolt Pattern Diagram

#

Description
Price

92002

BOLT,8X95

92002-1077

$11.07

92002A

BOLT,6X95

92002-1078

$5.59

92002B

BOLT,6X40

92002-1080

$5.24

92002C

BOLT,6X75

92002-1483

Unavailable