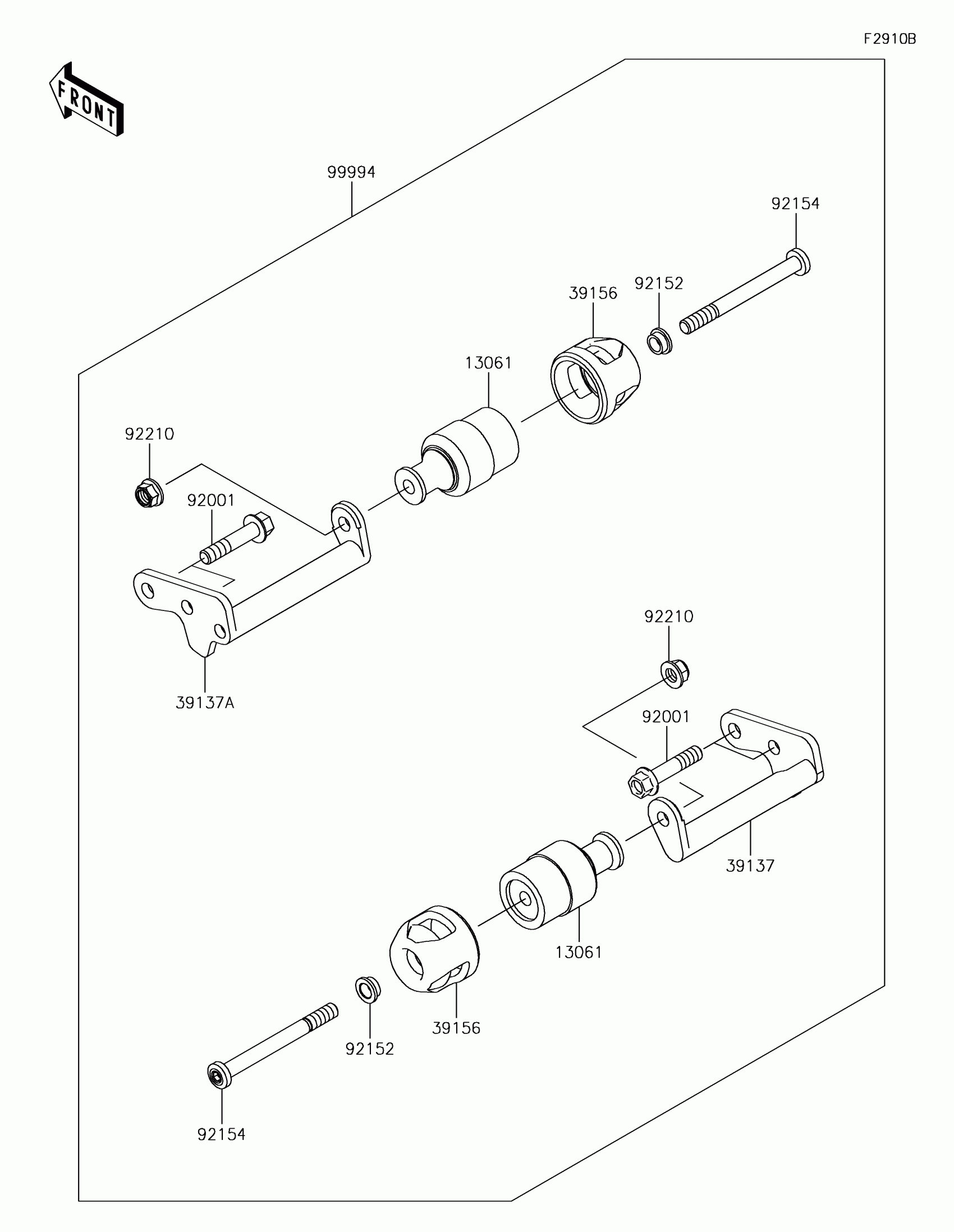
Partiron

Kawasaki Ninja 300 Accessory(Engine Guard) Diagram

#

Description
Price

11056

BRACKET

11056-2117

$38.57

130

BOLT-FLANGED,10X25

130BB1025

$5.25

39137

STAY-COMP

39137-0568

$121.95

39137A

STAY-COMP

39137-0569

$138.15

39156

PAD,ENGINE GUARD

39156-0758

$100.90

410

WASHER-PLAIN-SMALL,10MM,BLACK

410AB1000

$4.34

92001

BOLT,BLACK,10X47

92001-1522

$6.22

92150

BOLT,SOCKET,10X30

92150-1690

$6.22

92151

BOLT,FLANGED,10X280

92151-1916

$23.86

92152

COLLAR,10.6X13.8X7.8

92152-1661

$1.63

92152A

COLLAR,10.6X13.8X19.8

92152-1662

$2.32

92154

BOLT,SOCKET,10X40

92154-1084

$6.69

99994

KIT-ACCESSORY,ENGINE GUARD

99994-0355

$352.33