- Partiron
- OEM Parts
- Kawasaki
- motorcycle
- 2014
- NINJA® 300 ABS
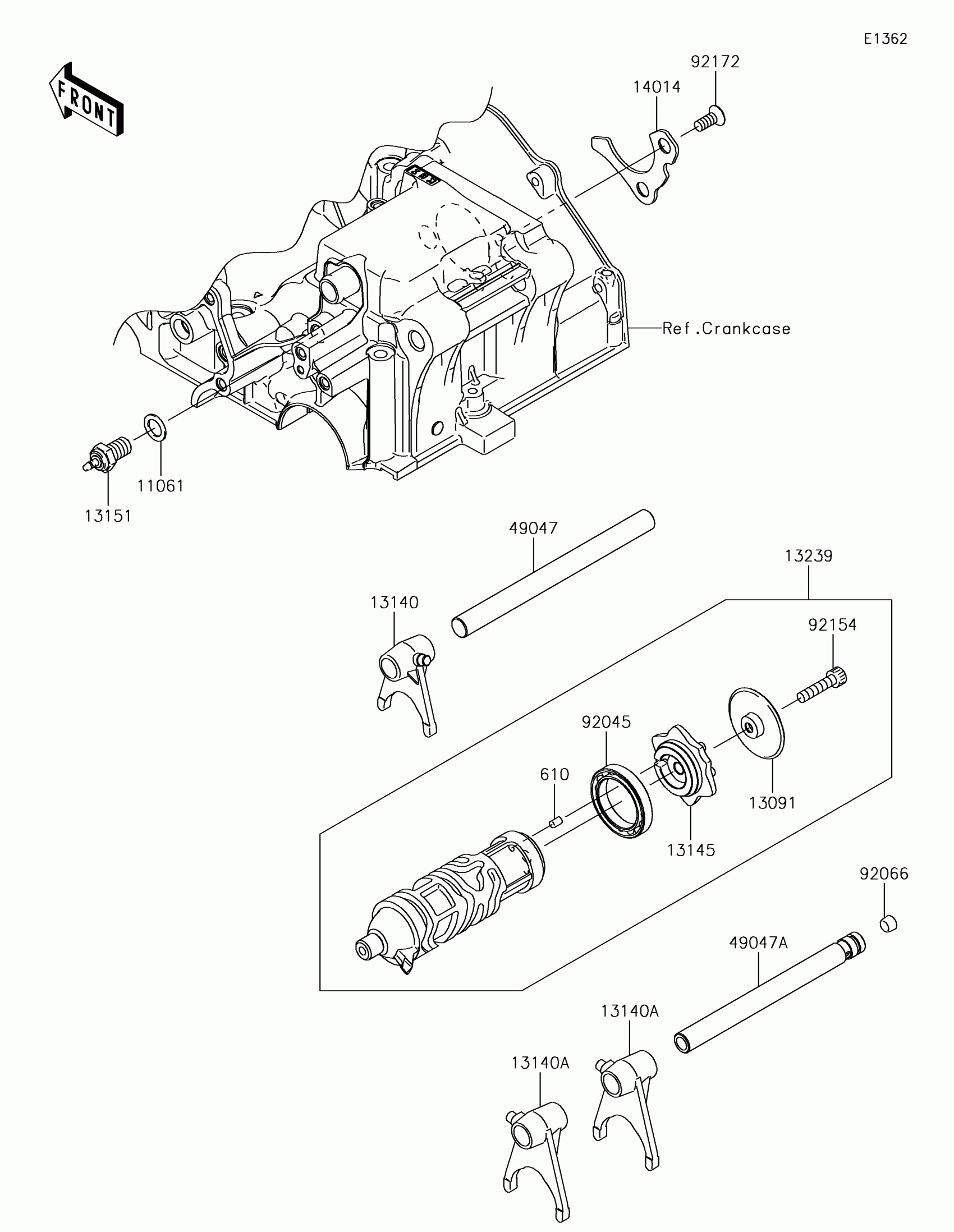
Gear Change Drum/Shift Fork(s)
Kawasaki NINJA® 300 ABS Gear Change Drum/Shift Fork(s) Diagram
#
Description
Price
13151
SWITCH-COMP,NEUTRAL
13151-1102
Unavailable
