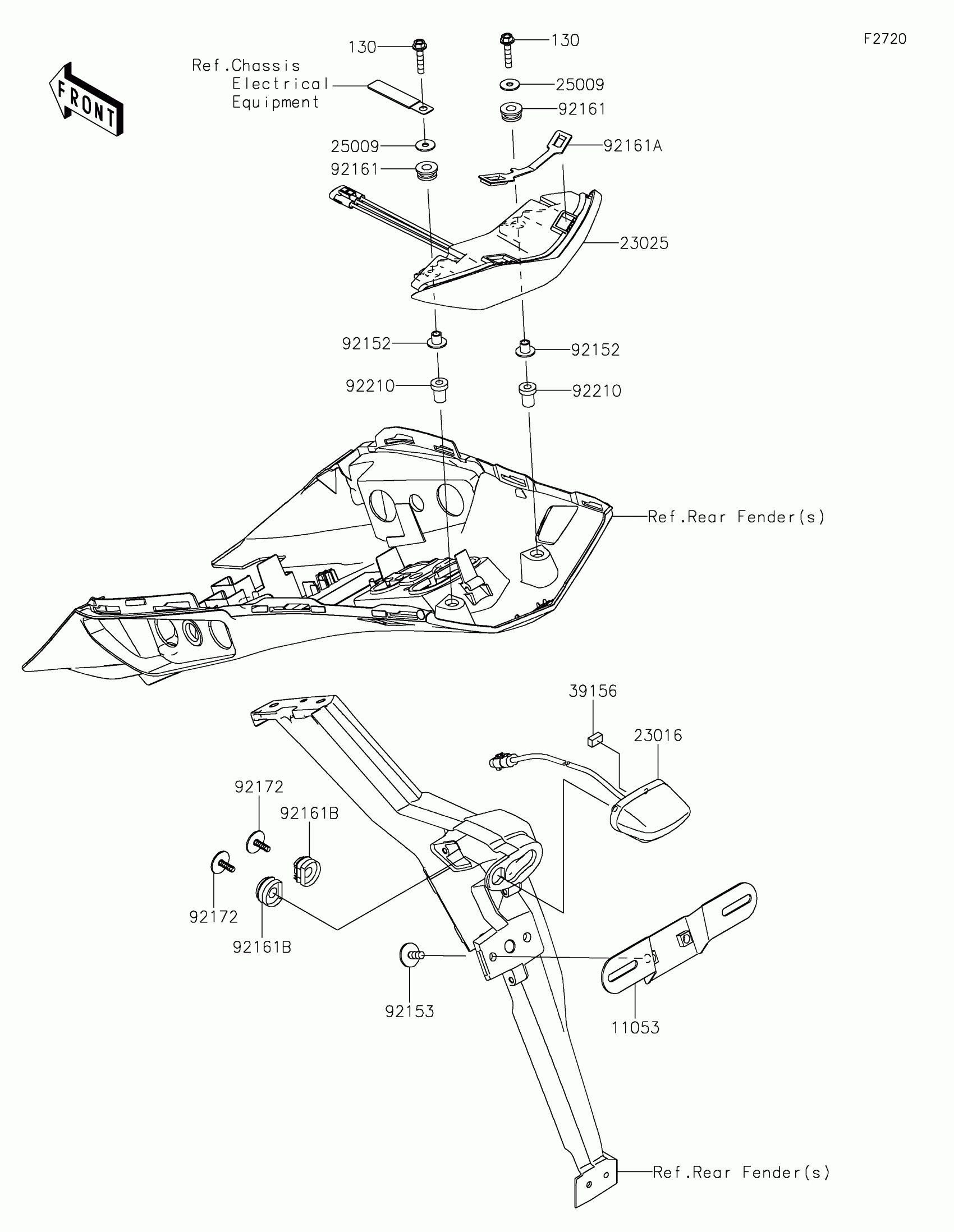
Partiron

Kawasaki Ninja 1100SX SE Taillight(s) Diagram

#

Description
Price

11053

BRACKET,LICENSE

11053-0400

$16.53

23016

LAMP-ASSY,LICENSE,LED

23016-0639

$65.84

23025

LAMP-TAIL

23025-0348

$160.65

25009

WASHER,5.2X16X1.2

25009-004

$3.65

39156

PAD,7X12X5

39156-2292

$1.27

92152

COLLAR

92152-0092

$6.61

92153

BOLT,6X16

92153-1423

$1.34

92161

DAMPER

92161-0317

$3.39

92161A

DAMPER,TAIL LAMP

92161-0808

$5.29

92161B

DAMPER

92161-2128

$4.85

92172

SCREW,TAPTITE,5X16

92172-0481

$3.19

92210

NUT,5MM

92210-0001

$6.18

130

BOLT-FLANGED,5X25

130BA0525

$0.65