- Partiron
- OEM Parts
- Honda
- MOTOR SCOOTER
- 1985
- NH80A (85) AERO 80, JPN, VIN# JH2HF010-FK200012
FLOOR PANEL + FLOOR BOARD + PILLION FOOTPEG
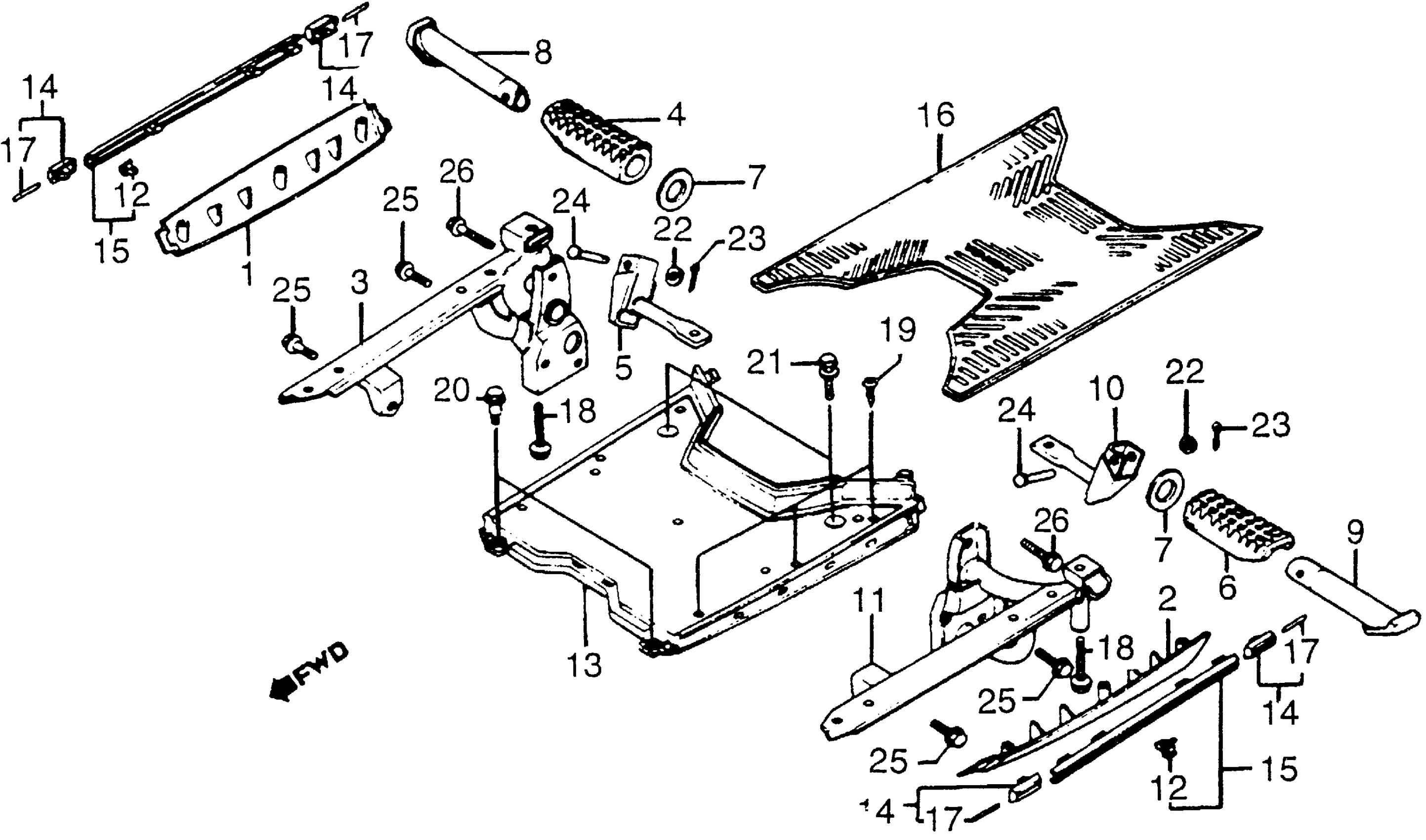
Honda NH80A (85) AERO 80, JPN, VIN# JH2HF010-FK200012 FLOOR PANEL + FLOOR BOARD + PILLION FOOTPEG Diagram
#
Description
Price
1
BOARD, R. *R110* This part replaces 50613-GM9-000ZA.
50613-GM9-750ZD
Unavailable
1
BOARD, R. SIDE FLOOR *B106* (CAPRI BLUE) This part replaces 50613-GM9-000ZC.
50613-GM9-750ZF
Unavailable
1
BOARD, R. SIDE FLOOR *B106* (CAPRI BLUE)
50613-GM9-750ZF
Unavailable
2
BOARD, L. SIDE FLOOR *R110* (MONZA RED) This part replaces 50614-GM9-000ZA.
50614-GM9-750ZD
Unavailable
2
BOARD, L. SIDE FLOOR *B106* (CAPRI BLUE) This part replaces 50614-GM9-000ZC.
50614-GM9-750ZF
Unavailable
2
BOARD, L. SIDE FLOOR *R110* (MONZA RED)
50614-GM9-750ZD
Unavailable
2
BOARD, L. SIDE FLOOR *B106* (CAPRI BLUE)
50614-GM9-750ZF
Unavailable
3
BOARD, R. FLOOR
50700-GN3-670
Unavailable
4
RUBBER, R. PILLION STEP
50710-KG8-000
Unavailable
5
BRACKET, R. PILLION FOOTPEG
50711-GN3-670
Unavailable
6
RUBBER, L. PILLION STEP
50712-KG8-000
Unavailable
8
BAR, R. PILLION FOOTPEG
50715-KG8-000
Unavailable
9
BAR, L. PILLION FOOTPEG
50718-KG8-000
Unavailable
10
BRACKET, L. PILLION FOOTPEG This part replaces 50721-GN3-670.
50721-GN3-700ZA
Unavailable
10
BRACKET, L. PILLION FOOTPEG
50721-GN3-700ZA
Unavailable
11
BOARD, L. FLOOR (NOT AVAILABLE)
50800-GN3-670
Unavailable
12
CLIP, MOLDING
64308-GM9-000
Unavailable
13
PANEL, FLOOR *NH122* This part replaces 64310-GM9-000ZB.
64310-GM9-010ZB
Unavailable
14
COVER, FR. (TYPE1) This part replaces 64311-GM9-010ZA.
64311-GM9-740ZB
Unavailable
14
COVER, FR. (TYPE1)
64311-GM9-740ZB
Unavailable
15
MOLDING, FLOOR PANEL (TYPE1)
64312-GM9-000ZA
Unavailable
16
FLOOR MAT (NOT AVAILABLE)
64320-GN3-670
Unavailable
17
STRIPE, MOLDING COVER (TYPE1)
87149-GM9-300ZA
Unavailable
18
BOLT, FLANGE (10X76)
90051-GN3-000
Unavailable
18
BOLT, FLANGE (10X76) This part replaces 90051-GN3-670.
90051-GN3-000
Unavailable
19
SCREW, TAPPING (3X12)
90107-GM9-000
Unavailable
