- Partiron
- OEM Parts
- Honda
- MOTOR SCOOTER
- 1985
- NH80A (85) AERO 80, JPN, VIN# JH2HF010-FK200012
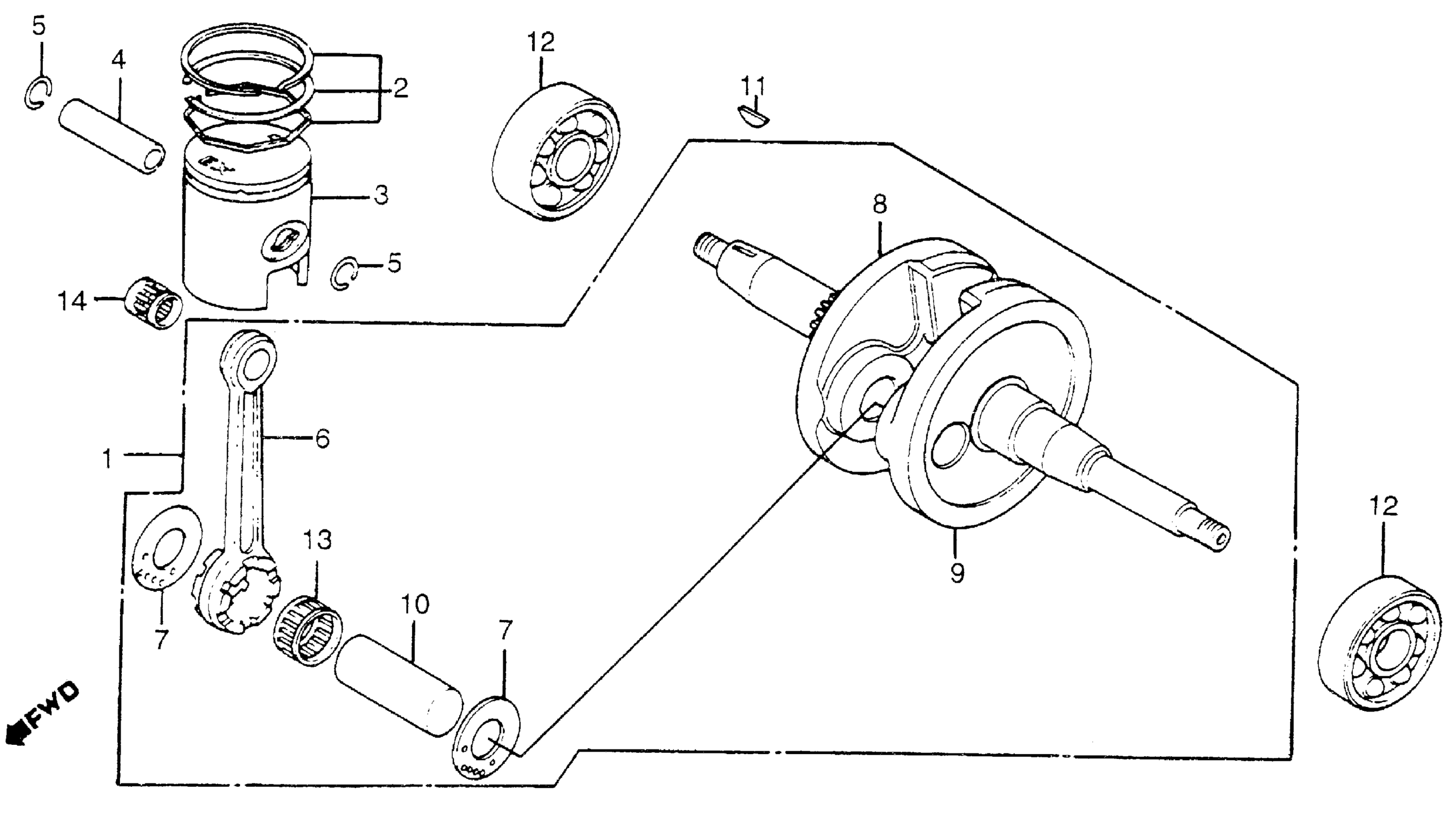
CRANKSHAFT + PISTON
Honda NH80A (85) AERO 80, JPN, VIN# JH2HF010-FK200012 CRANKSHAFT + PISTON Diagram
#
Description
Price
1
CRANKSHAFT (NOT AVAILABLE)
13000-GN3-670
Unavailable
2
RING SET, PISTON
13010-GC8-305
Unavailable
2
RING SET, PISTON This part replaces 13011-GC8-005.
13010-GC8-305
Unavailable
3
PISTON
13101-GN3-010
Unavailable
3
PISTON This part replaces 13101-GN3-670.
13101-GN3-010
Unavailable
4
PIN, PISTON
13111-GC8-000
Unavailable
6
ROD, CONNECTING This part replaces 13201-GC8-300.
13201-GC8-310
Unavailable
6
ROD, CONNECTING
13201-GC8-310
Unavailable
8
CRANKSHAFT, R.
13311-GN3-670
Unavailable
9
CRANKSHAFT, L.
13321-GN3-670
Unavailable
10
PIN, CRANK This part replaces 13381-GN3-670.
13381-GN3-671
Unavailable
10
PIN, CRANK
13381-GN3-671
Unavailable
12
BEARING, RADIAL BALL This part replaces 91001-GC8-004.
91005-GF9-003
Unavailable
12
BEARING, RADIAL BALL
91005-GF9-003
Unavailable
13
BEARING, CONNECTING ROD BIG END (RED) (TOMUSON) This part replaces 91001-156-004.
91001-166-004
Unavailable
13
BEARING, CONNECTING ROD BIG END (RED) (TOMUSON)
91001-166-004
Unavailable
13
BEARING, CONNECTING ROD BIG END (BLUE) (TOMUSON) (NOT AVAILABLE) This part replaces 91002-156-004.
91002-166-004
Unavailable
13
BEARING, CONNECTING ROD BIG END (BLUE) (TOMUSON) (NOT AVAILABLE)
91002-166-004
Unavailable
13
BEARING, CONNECTING ROD BIG END (WHITE) (TOMUSON) (NOT AVAILABLE) This part replaces 91003-156-004.
91003-166-004
Unavailable
13
BEARING, CONNECTING ROD BIG END (WHITE) (TOMUSON) (NOT AVAILABLE)
91003-166-004
Unavailable
14
BEARING, CONNECTING ROD SMALL END (TOMUSON) This part replaces 91102-GC8-003.
91102-GC8-004
$14.67
