- Partiron
- OEM Parts
- Honda
- MOTORCYCLE
- 2013
- NC700XDAC (13) NC700XD, JPN, VIN# JH2RC631-DK100001
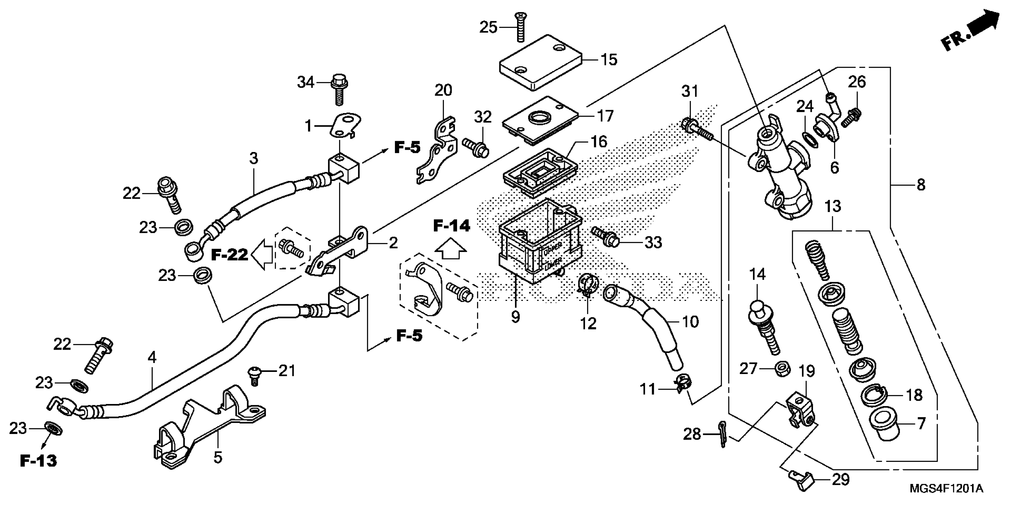
REAR BRAKE MASTER CYLINDER (2)
Honda NC700XDAC (13) NC700XD, JPN, VIN# JH2RC631-DK100001 REAR BRAKE MASTER CYLINDER (2) Diagram
#
Description
Price
5
GUIDE, RR. BRAKE HOSE | Use up to Frame SN DK100340. This part replaces 43468-MGS-D30.
43468-MGS-D31
$16.59
