- Partiron
- OEM Parts
- Honda
- MOTOR SCOOTER
- 1984
- NB50MA (84) AERO 50, JPN, VIN# JH2AB070-EK100001 TO JH2AB070-EK109605
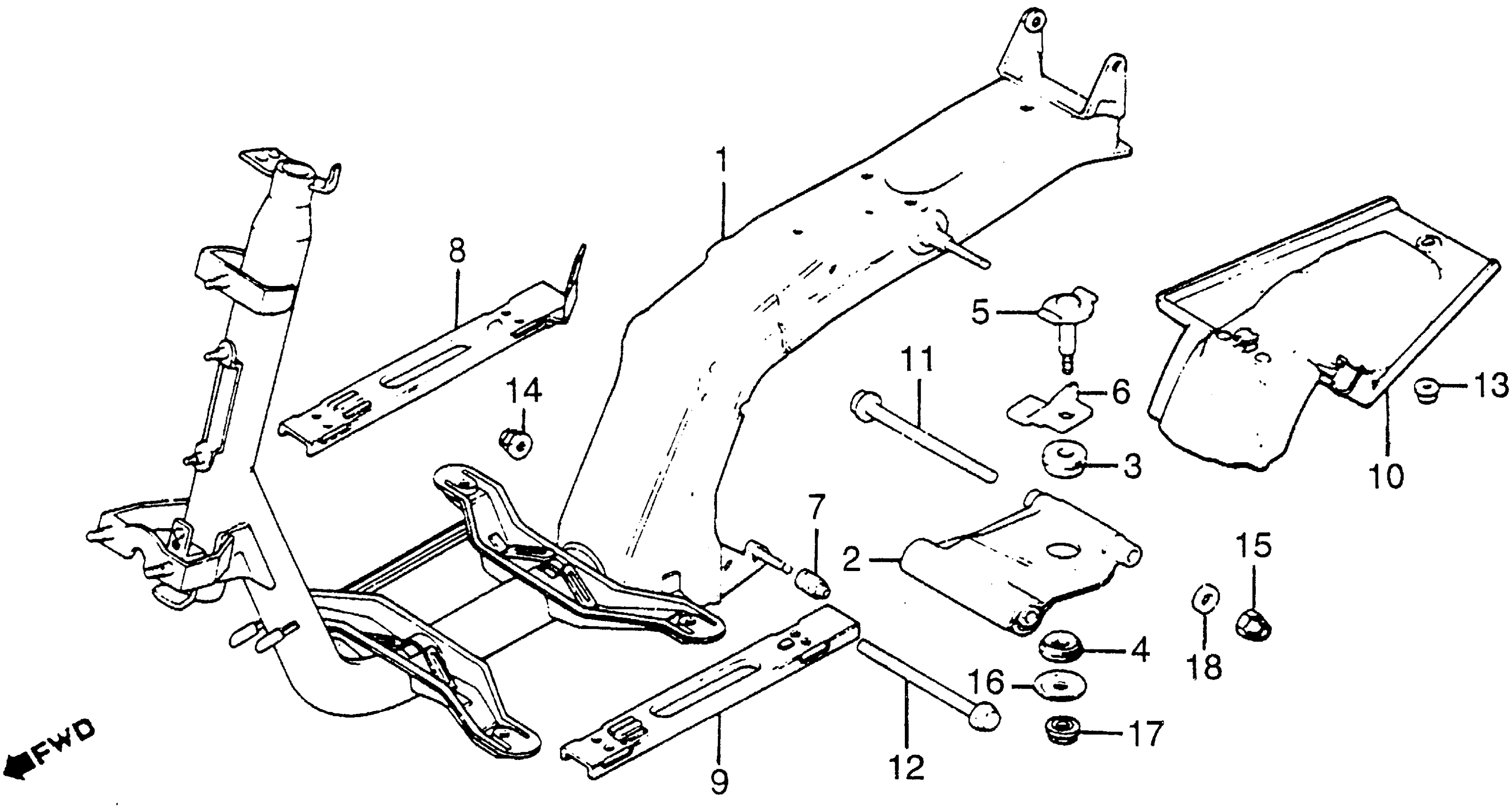
FRAME
Honda NB50MA (84) AERO 50, JPN, VIN# JH2AB070-EK100001 TO JH2AB070-EK109605 FRAME Diagram
#
Description
Price
1
FRAME *NH35M* (CLOUD SILVER METALLIC)
50100-GE8-670ZA
Unavailable
2
BRACKET ASSY., ENGINE HANGER
50350-GE8-000
Unavailable
3
RUBBER A, ENGINE HANGER STOPPER
50352-GA7-000
Unavailable
4
RUBBER, R. ENGINE HANGER STOPPER
50354-GA7-000
Unavailable
5
BOLT, LINK STOPPER
50355-GA7-000
Unavailable
6
STOPPER, LINK BOLT
50356-GA7-010
Unavailable
7
RUBBER, ENGINE HANGER STOPPER
50357-GA7-000
Unavailable
8
BOARD, R. FLOOR
50611-GE8-000
Unavailable
9
BOARD, L. FLOOR (NOT AVAILABLE)
50612-GE8-000
Unavailable
10
FENDER B, RR.
80105-GE8-670
Unavailable
12
BOLT, FLANGE (10X143)
90110-HB6-000
Unavailable
16
WASHER (8MM)
90501-GA7-000
Unavailable
