- Partiron
- OEM Parts
- Yamaha
- motorcycle
- 2020
- MXT9GTLB (NIKEN GT) B5BA 2020
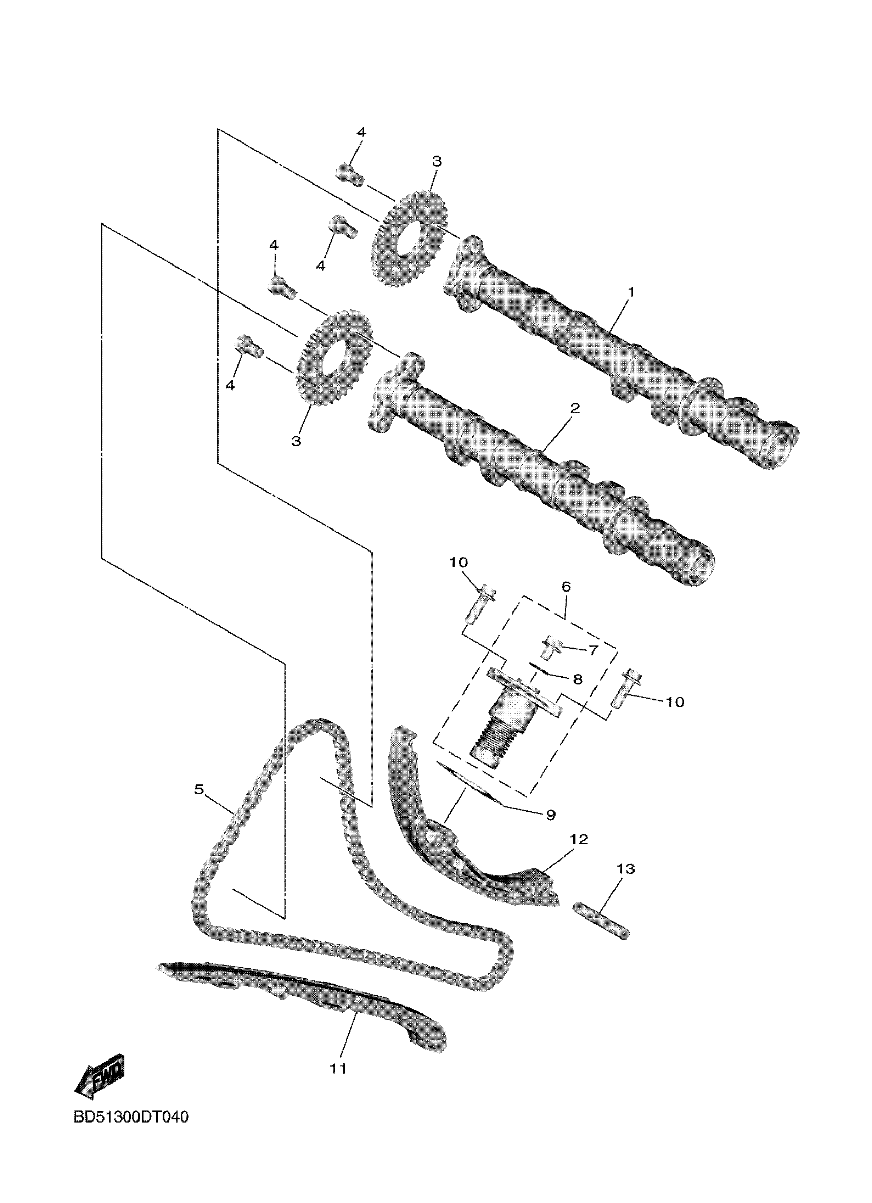
CAMSHAFT & CHAIN
Yamaha MXT9GTLB (NIKEN GT) B5BA 2020 CAMSHAFT & CHAIN Diagram
#
Description
Price
11
DAMPER, CHAIN 1
1RC-12251-00-00
Unavailable
