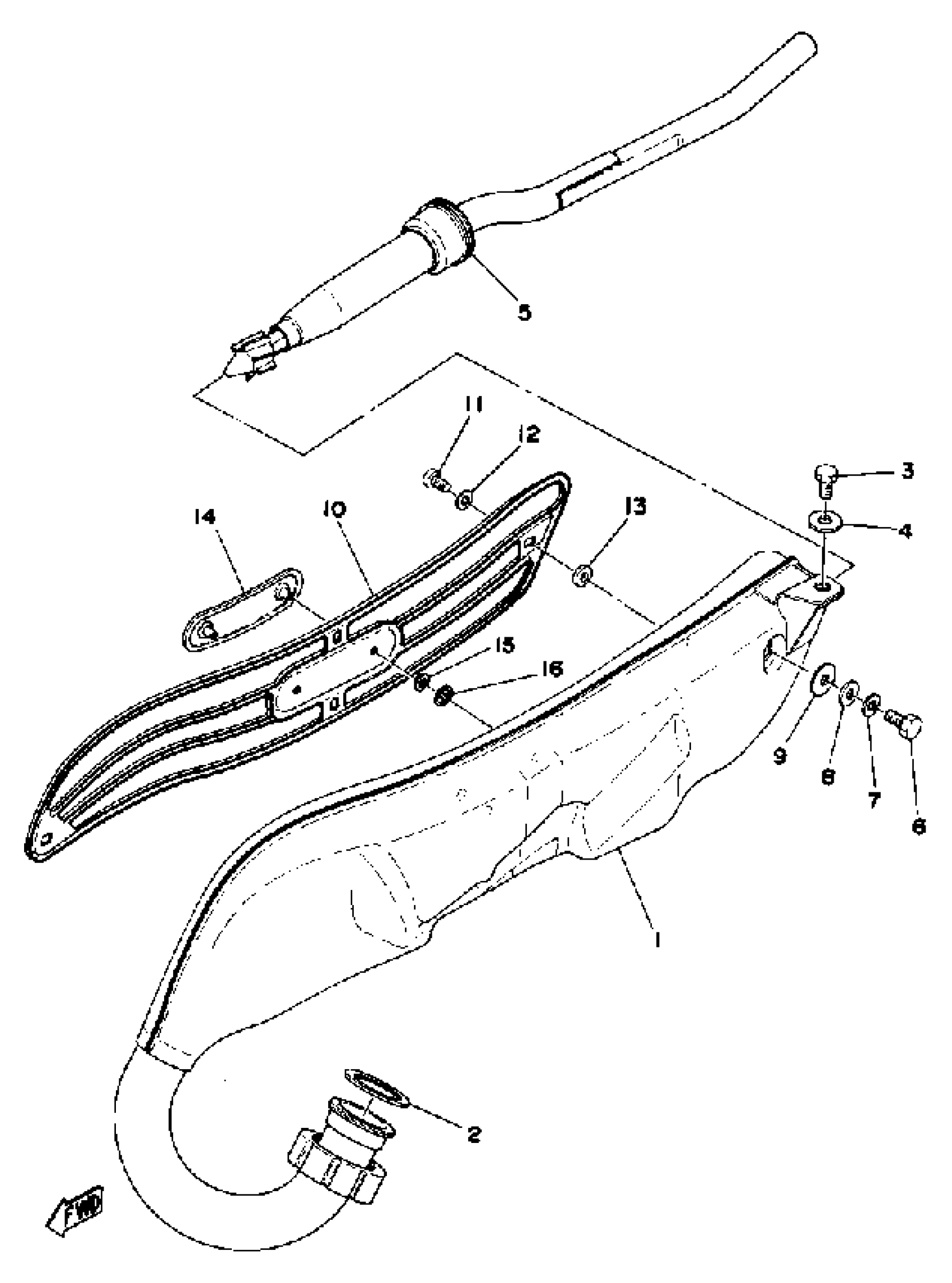
Yamaha MX80H (MX80) 1981 EXHAUST Diagram
#
Description
Price
1
EXHAUST PIPE ASSEMBLY L
(367-14610-31-00)
Unavailable
4
.. WASHER, PLATE
92990-08600-00
Unavailable
5
. PIPE, OUTLET
367-14752-30-00
Unavailable
7
WASHER, SPRING
92995-06100-00
Unavailable
8
WASHER, PLATE
90201-06M08-00
Unavailable
9
GASKET(1MH)
90430-05223-00
Unavailable
10
PROTECTOR, MUFF 1
367-14718-30-00
Unavailable
14
EMBLEM, PROTECTOR
367-14729-31-00
Unavailable
16
NUT SPRING 116283170100
90183-04005-00
Unavailable
