- Partiron
- OEM Parts
- Yamaha
- motorcycle
- 1979
- MX175F (MX175) 1979
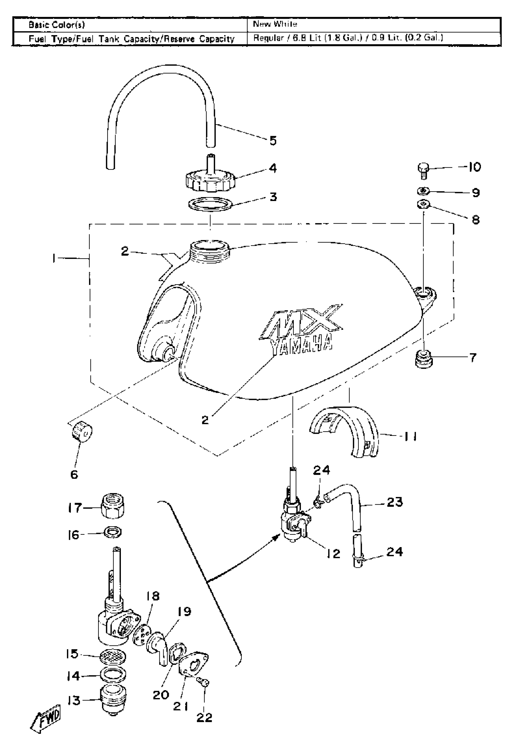
FUEL TANK
Yamaha MX175F (MX175) 1979 FUEL TANK Diagram
#
Description
Price
1
FUEL TANK
(2N4-24110-00-X1)
Unavailable
2
GRAPHIC, FUEL TNK 1
(3M1-24244-00-00)
Unavailable
4
BODY, CAP
2A6-24611-00-00
Unavailable
7
GROMMET
90480-22231-00
Unavailable
9
WASHER, SPRING
92995-06100-00
Unavailable
11
DAMPER,LOCATING 2
5L9-F4182-00-00
Unavailable
13
. CUP, FILTER
1A0-24521-01-00
Unavailable
15
. NET, FILTER 2
304-24515-00-00
Unavailable
16
GASKET, FUEL COCK
434-24532-00-00
Unavailable
17
. NUT
132-24531-00-00
Unavailable
18
VALVE
137-24523-00-00
Unavailable
19
. LEVER, COCK
447-24524-00-00
Unavailable
20
WASHER, WAVE
132-24518-00-00
Unavailable
21
. PLATE, LEVER FITTING
447-24525-00-00
Unavailable
22
SCREW, PAN HEAD (J10)
98580-03008-00
Unavailable
23
HOSE (L420)
90445-092K1-00
Unavailable
24
CLIP 101235600
90467-08003-00
Unavailable
