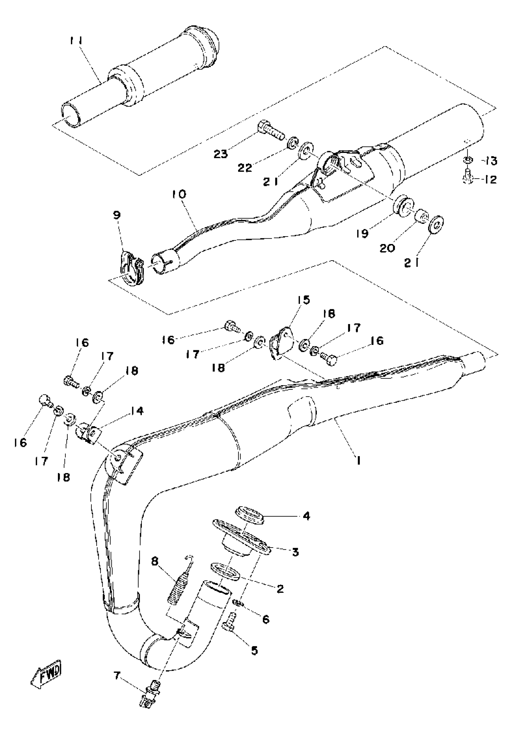
Yamaha MX125C (MX125) 1976 EXHAUST Diagram
#
Description
Price
1
EXHAUST PIPE ASSEMBLY L
(565-14610-01-00)
Unavailable
3
NUT, RING
2K5-14612-00-00
Unavailable
6
WASHER, SPRING
92995-06100-00
Unavailable
7
BOLT, HOOK
409-14684-00-00
Unavailable
8
SPRING,TENSION
90507-20012-00
Unavailable
9
BAND, SILENCER
537-14788-00-00
Unavailable
10
SILENCER, EXHAUST
(565-14753-00-00)
Unavailable
11
PIPE, OUTLET
(565-14752-00-00)
Unavailable
13
WASHER, SPRING
92995-06100-00
Unavailable
14
STAY, MUFFLER 1
537-14771-01-00
Unavailable
17
WASHER, SPRING
92995-06100-00
Unavailable
18
WASHER, PLATE 8087752500
90201-07081-00
Unavailable
19
DAMPER
565-14747-00-00
Unavailable
20
COLLAR (437)
90387-08258-00
Unavailable
21
WASHER, PLATE(8AT)
90201-081R9-00
Unavailable
22
YBS67-8 WASHER, SPRING
92990-08100-00
Unavailable
23
BOLT, HEXAGON
97013-08030-00
Unavailable
