- Partiron
- OEM Parts
- Yamaha
- motorcycle
- 1980
- MX100G (MX100) 1980
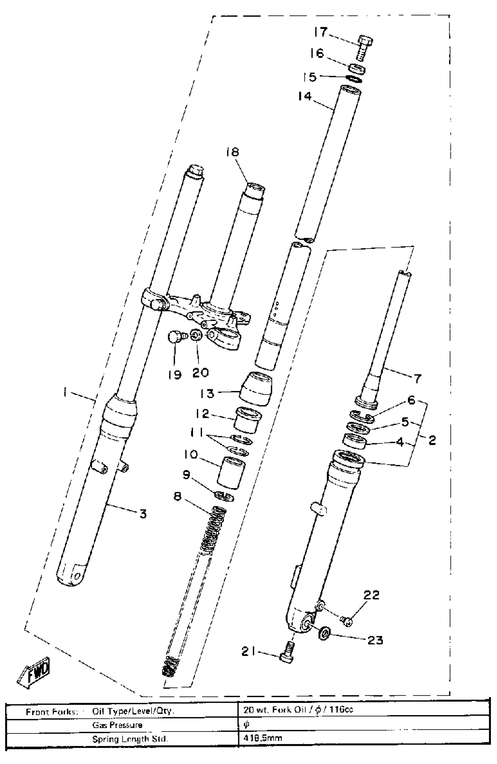
FRONT FORK
Yamaha MX100G (MX100) 1980 FRONT FORK Diagram
#
Description
Price
1
FRONT FORK ASSEMBLY
(1T9-23101-00-00)
Unavailable
2
. TUBE, OUTER (LEFT)
1T9-23126-00-35
Unavailable
3
TUBE, OUTER 2
(462-23136-02-35)
Unavailable
4
OIL SEAL (5R6)
93110-27010-00
Unavailable
5
. WASHER, OIL SEAL
462-23146-02-00
Unavailable
6
. CLIP, OIL SEAL
462-23156-02-00
Unavailable
7
. CYLINDER COMP, FRONT FORK
462-23170-02-00
Unavailable
8
. SPRING, FRONT FORK
1T9-23141-00-00
Unavailable
9
. CIRCLIP
462-23183-02-00
Unavailable
10
. PISTON, FRONT FORK
462-23171-02-00
Unavailable
11
. RING, PISTON
462-23157-02-00
Unavailable
12
. METAL, SLIDE 1
462-23125-02-00
Unavailable
13
SEAL,DUST
462-23144-02-00
Unavailable
14
TUBE,INNER 1
3UL-23124-00-00
Unavailable
15
GASKET
462-23114-02-00
Unavailable
16
. WASHER, CAP
276-23112-50-00
Unavailable
17
BOLT, CAP
205-23111-40-00
Unavailable
18
UNDER BRACKET COMP.
1T9-23340-00-90
Unavailable
19
BOLT (8J7)
97013-10030-00
Unavailable
20
YBS67-10 WASHER, SPRING
92990-10100-00
Unavailable
21
SCREW, PAN HEAD(6B0)
97885-06025-00
Unavailable
22
.. PLUG, DRAIN
451-23119-01-00
Unavailable
23
. WASHER, SPECIAL
462-23392-02-00
Unavailable
