- Partiron
- OEM Parts
- Yamaha
- motorcycle
- 1980
- MX100G (MX100) 1980
CARBURETOR
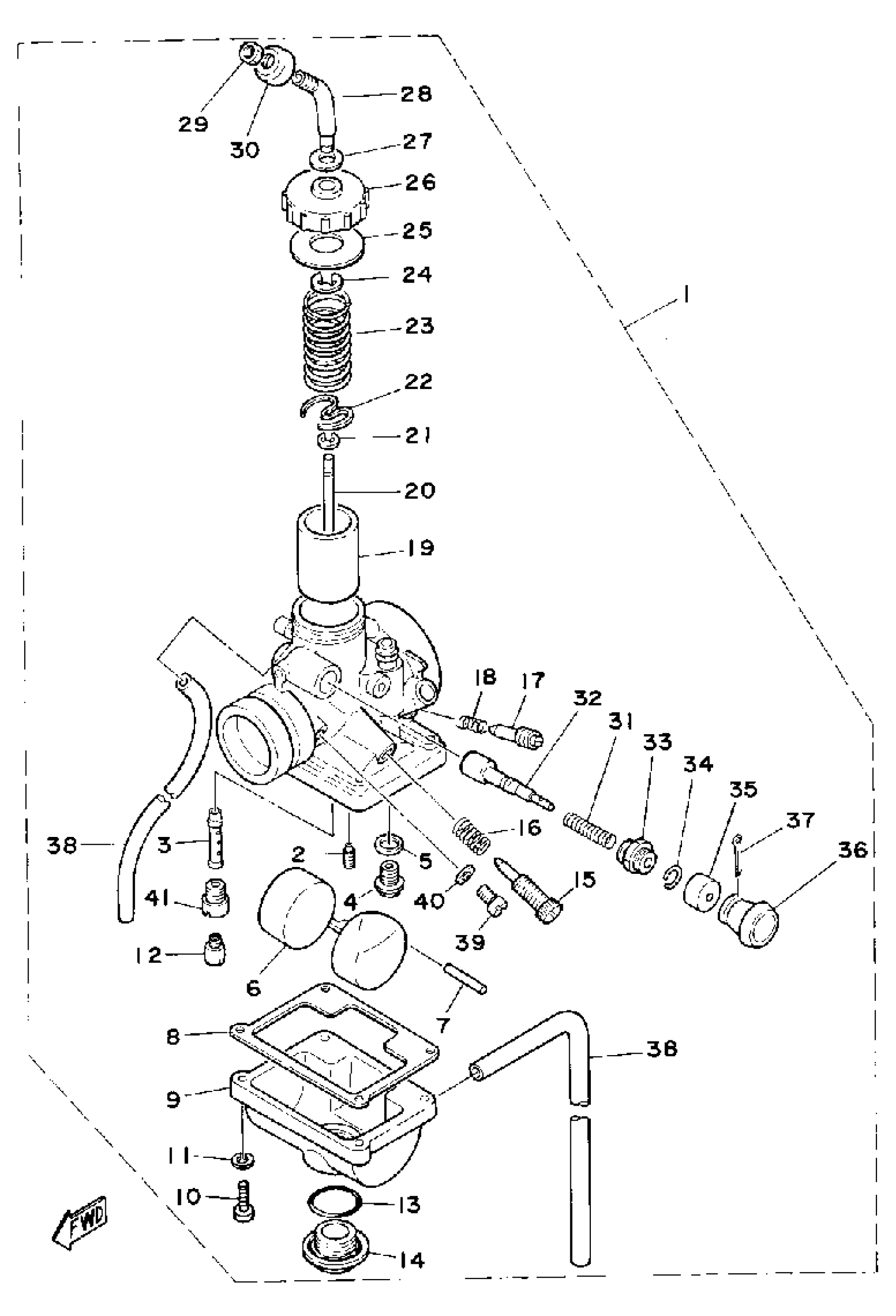
Yamaha MX100G (MX100) 1980 CARBURETOR Diagram
#
1
CARBURETOR ASY 1
3M1-14101-01-00
Unavailable
2
JET, PILOT (# 17.5)
260-14142-17-00
Unavailable
3
NOZZLE, MAIN
2F5-14141-36-00
Unavailable
4
VALVE SEAT ASSY
353-14190-15-00
Unavailable
9
. BODY, FLOAT CHMBR 1
539-14181-06-00
Unavailable
12
JET, MAIN #125
137-14143-25-A0
Unavailable
12
JET, MAIN #135
137-14143-27-00
Unavailable
14
PLUG, SCREW
500-14115-00-00
Unavailable
15
. SCREW, THROTTLE
493-14122-00-00
Unavailable
16
. SPRING, THROTTLE STOP
493-14133-00-00
Unavailable
17
AIR SCREW SET
22K-14104-00-00
Unavailable
18
SPRING, AIR ADJUSTING
174-14134-00-00
Unavailable
19
VALVE,THROTTLE 1
53V-14112-20-00
Unavailable
20
NEEDLE SET
18L-1490J-00-00
Unavailable
21
CLIP
3FA-14137-00-00
Unavailable
22
. SEAT, SPRING
137-14136-00-00
Unavailable
23
SPRING, THROTTLE VALVE
3X3-14131-00-00
Unavailable
24
CLIP
363-14137-00-00
Unavailable
25
GASKET
193-14126-00-00
Unavailable
26
. TOP, MIXING CHAMBER
1T9-14158-00-00
Unavailable
27
GASKET
509-14198-00-00
Unavailable
28
CABLE ADJUST SCREW SET
10X-14106-00-00
Unavailable
29
NUT, WIRE ADJUSTING
127-14161-00-00
Unavailable
30
CAP
3X3-14169-00-00
Unavailable
31
SPRING, PLUNGER
156-14135-00-00
Unavailable
32
. PLUNGER, STARTER
304-14171-00-00
Unavailable
33
. CLIP, PLUNGER
152-14138-00-00
Unavailable
34
. CLIP, PLUNGER
152-14138-00-00
Unavailable
35
COVER, PLUNGER CAP
132-14173-00-00
Unavailable
36
HOLDER
304-14261-00-00
Unavailable
37
PIN, COTTER
91490-16020-00
Unavailable
38
PIPE
23F-14197-00-00
Unavailable
39
. PLUG, SCREW
2F5-14115-00-00
Unavailable
40
.. WASHER, PLUG SCREW
584-14956-00-00
Unavailable
41
. SETTER, NEEDLE JET
2F5-14145-00-00
Unavailable
