Partiron

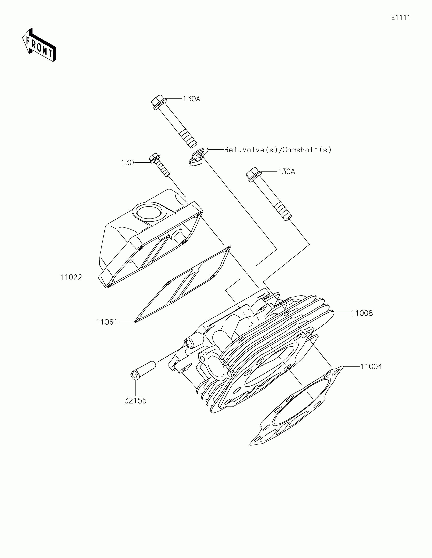
Kawasaki MULE SX™ Cylinder Head Diagram

#

Description
Price

11004

GASKET-HEAD

11004-7017

$13.04

11008

HEAD-COMP-CYLINDER

11008-7033

$163.71

11022

CASE-ROCKER

11022-0045

$18.55

11061

GASKET,CASE-ROCKER

11061-7041

$6.73

32155

PIPE,HEAD-CYLINDER

32155-2213

$1.02

130

BOLT-FLANGED,6X25

130BA0625

$1.20

130A

BOLT-FLANGED,10X65

130CA1065

$2.39