Partiron

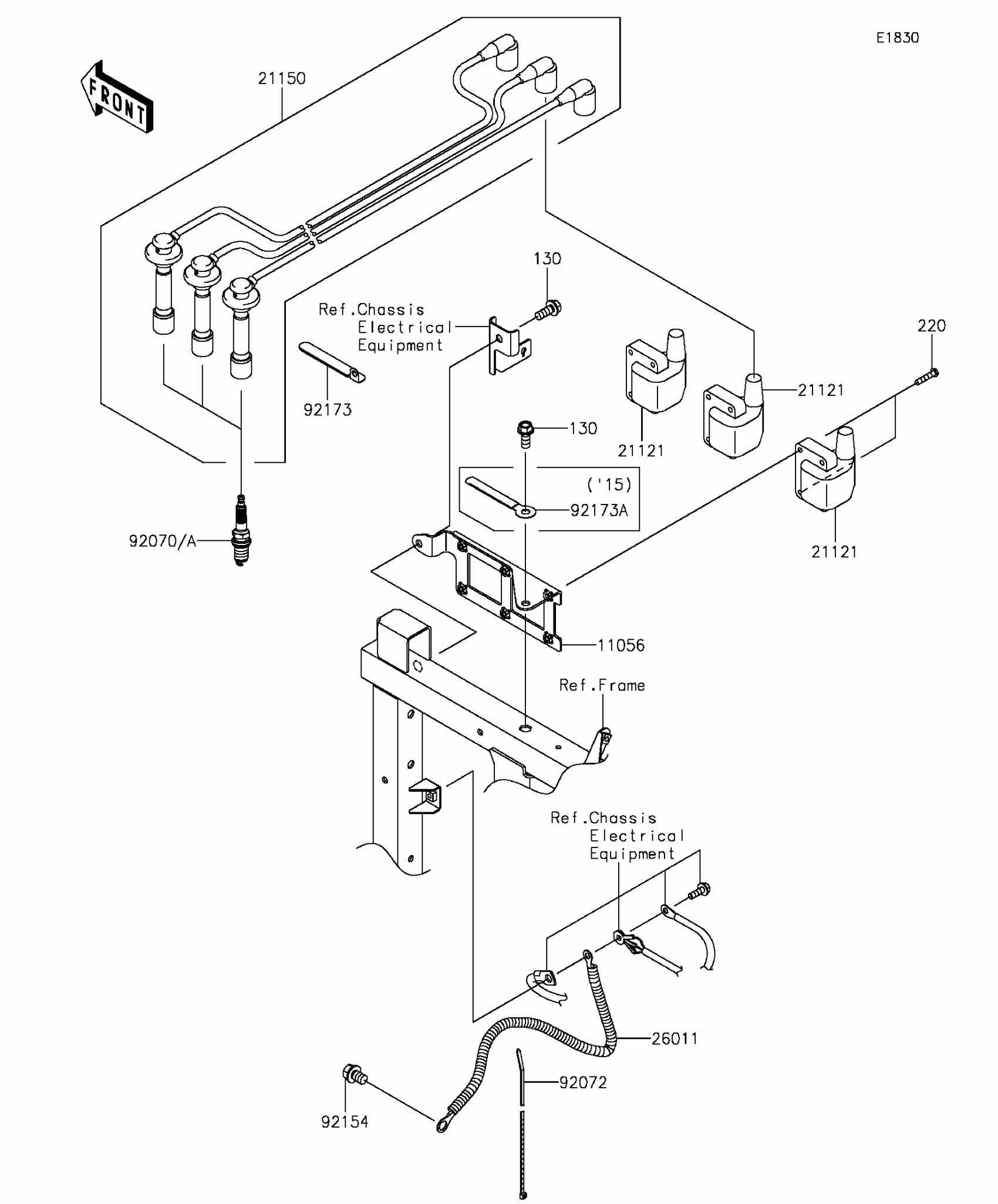
Kawasaki MULE PRO-FXT™ EPS Ignition System Diagram

#

Description
Price

11056

BRACKET

11056-2930

$21.00

130

BOLT-FLANGED,8X20

130BA0820

$4.14

21121

COIL-IGNITION

21121-0724

$86.93

21150

CORD-ASSY,HIGH TENSION

21150-0013

$61.12

220

SCREW-PAN-CROS,5X25

220AA0525

$3.67

26011

WIRE-LEAD

26011-0846

$15.68

92070

PLUG-SPARK,7026(TORCH)

92070-0048

$9.71

92070A

Not Available As Spare Part - Friction Washer

Unavailable

92072

BAND,L=292.1

92072-3509

Unavailable

92154

BOLT,FLANGED,10X14

92154-1383

$1.71

92173

CLAMP

92173-1056

$3.86