Partiron

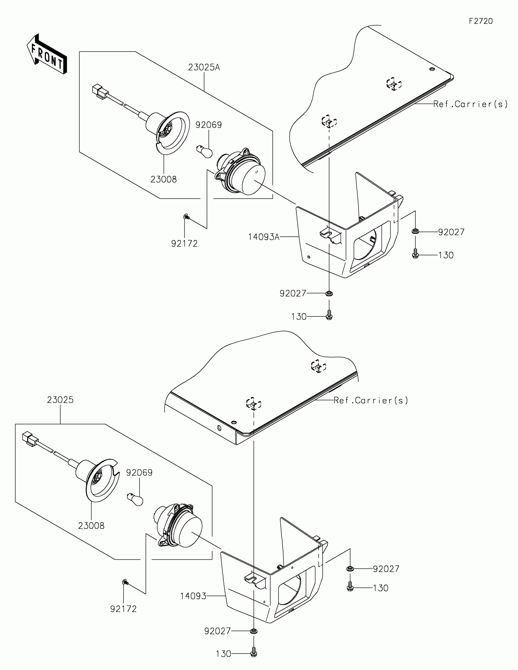
Kawasaki MULE PRO-FXT™ 1000 LE Taillight(s) Diagram

#

Description
Price

14093

COVER,TAIL LAMP,LH

14093-0580

$7.80

14093A

COVER,TAIL LAMP,RH

14093-0581

$7.80

23008

SOCKET-ASSY

23008-0162

$65.84

23025

LAMP-TAIL,LH

23025-0334

$111.67

23025A

LAMP-TAIL,RH

23025-0341

$111.67

92027

COLLAR,L=4.6

92027-1168

$5.00

92069

BULB,12V 21/5W

92069-0072

Unavailable

92172

SCREW,TAPPING,5X10

92172-0262

$1.34

130

BOLT-FLANGED,6X14

130BA0614

$1.20