Partiron

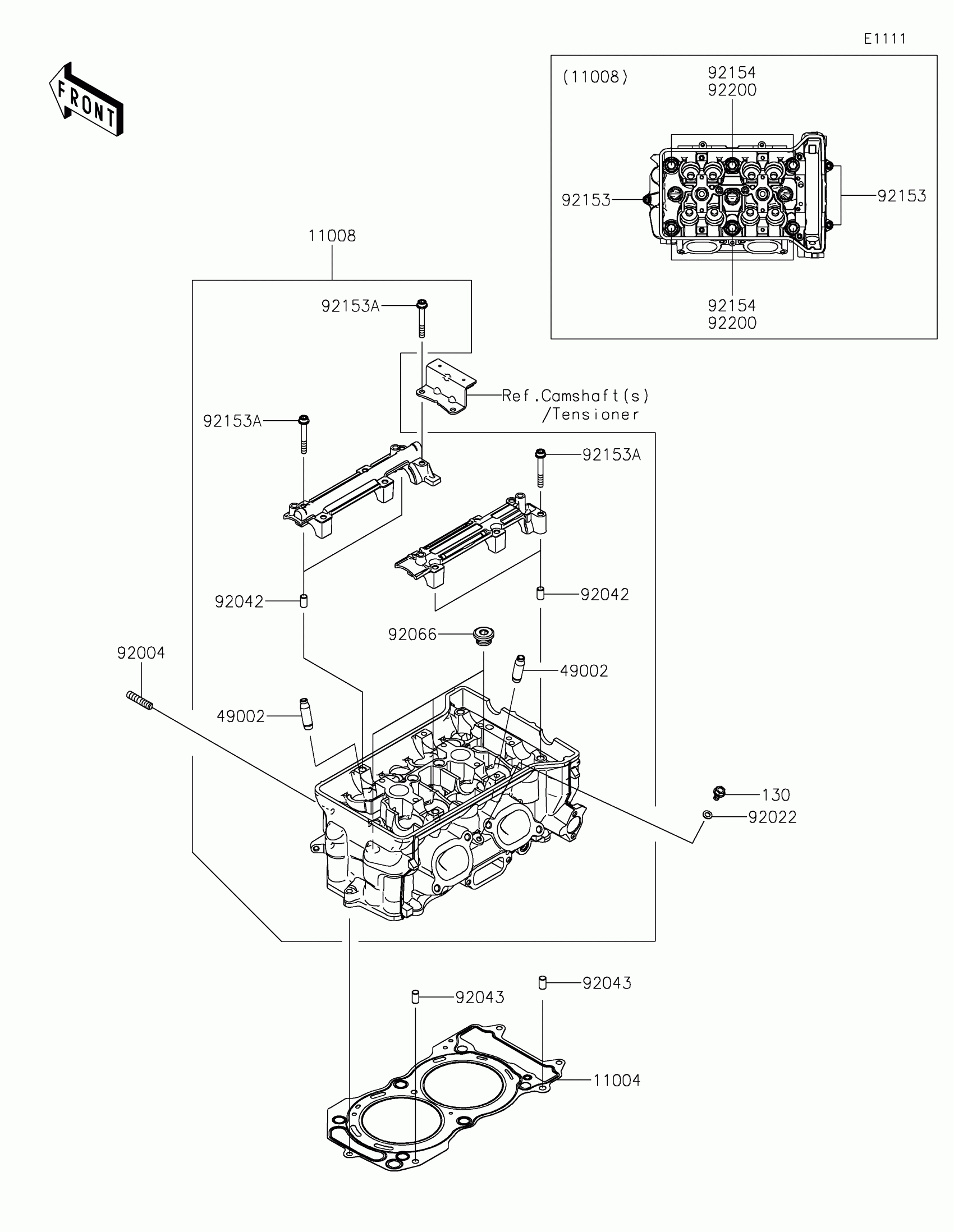
Kawasaki MULE PRO-FXT™ 1000 LE Cylinder Head Diagram

#

Description
Price

11004

GASKET-HEAD

11004-0809

$103.13

11008

HEAD-COMP-CYLINDER

11008-1502

$1,786.26

49002

GUIDE-VALVE

49002-0709

$12.23

92004

STUD,8X22

92004-1217

$5.65

92022

WASHER,6.2X11X1

92022-304

$3.65

92042

PIN,DOWEL,6.3X8X14

92042-007

$5.70

92043

PIN,8X14

92043-1567

$2.26

92066

PLUG,18X10

92066-0832

$12.90

92153

BOLT,6X95

92153-0320

$11.42

92153A

BOLT,SOCKET,6X45

92153-0656

$2.55

92154

BOLT,11X157

92154-3931

$15.78

92200

WASHER,11.5X20.5X3.2

92200-0727

$10.60

130

BOLT-FLANGED,6X12

130BA0612

$1.72