Partiron

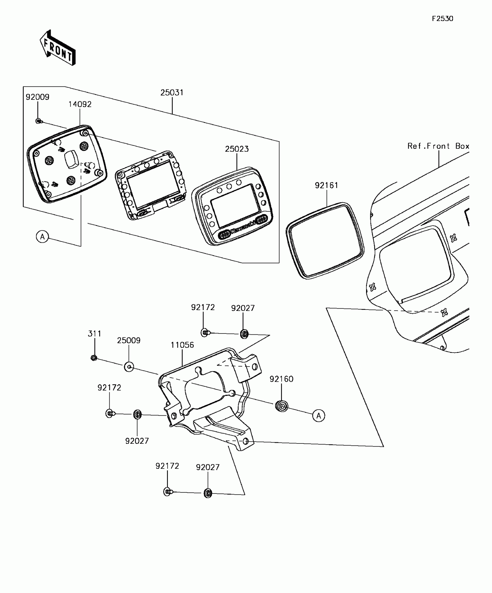
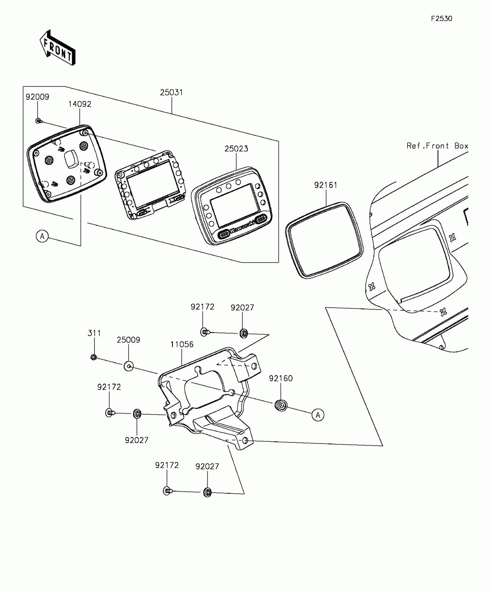
Kawasaki MULE PRO-DXT™ EPS LE DIESEL Meter(s) Diagram

#

Description
Price

11056

BRACKET,METER

11056-2956

$31.10

14092

COVER,METER,LWR

14092-0834

$96.94

25009

WASHER,5.2X16X1.2

25009-004

$3.65

25023

COVER-METER CASE,UPP

25023-0075

$40.98

25031

METER-ASSY,LCD

25031-0629

$367.94

311

NUT-HEX,5MM

311AB0500

$0.43

92009

SCREW,TAPPING,3X12

92009-1255

$3.65

92027

COLLAR,L=4.6

92027-1168

$5.00

92160

DAMPER

92160-1460

$4.87

92161

DAMPER,METER

92161-0906

$3.01

92172

SCREW,6X16

92172-0284

$1.34