- Partiron
- OEM Parts
- Kawasaki
- side-x-side
- 2016
- MULE PRO-DXT™ EPS DIESEL
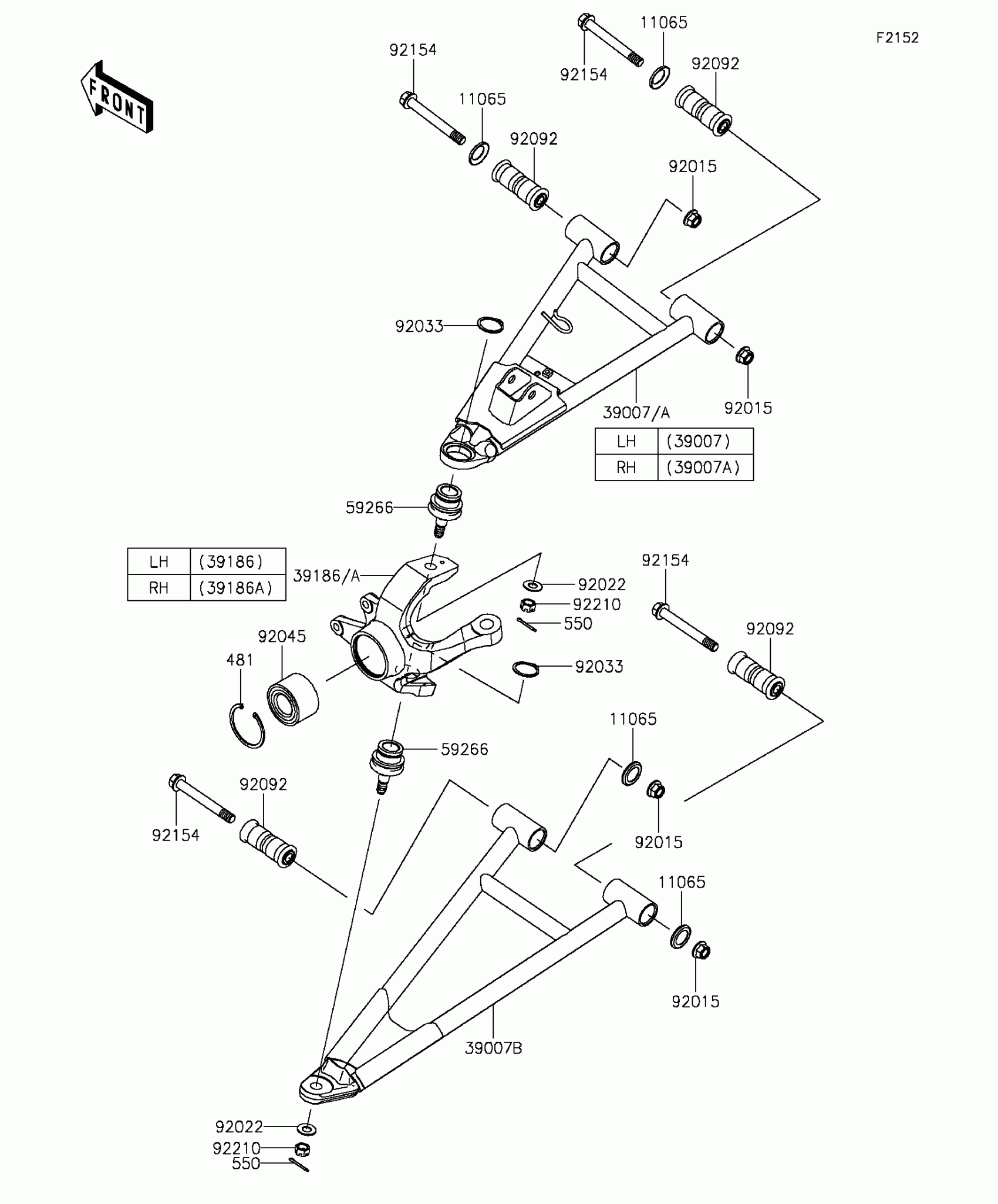
Front Suspension
Kawasaki MULE PRO-DXT™ EPS DIESEL Front Suspension Diagram
#
Description
Price
Front Suspension
#
Edit ride
