Partiron

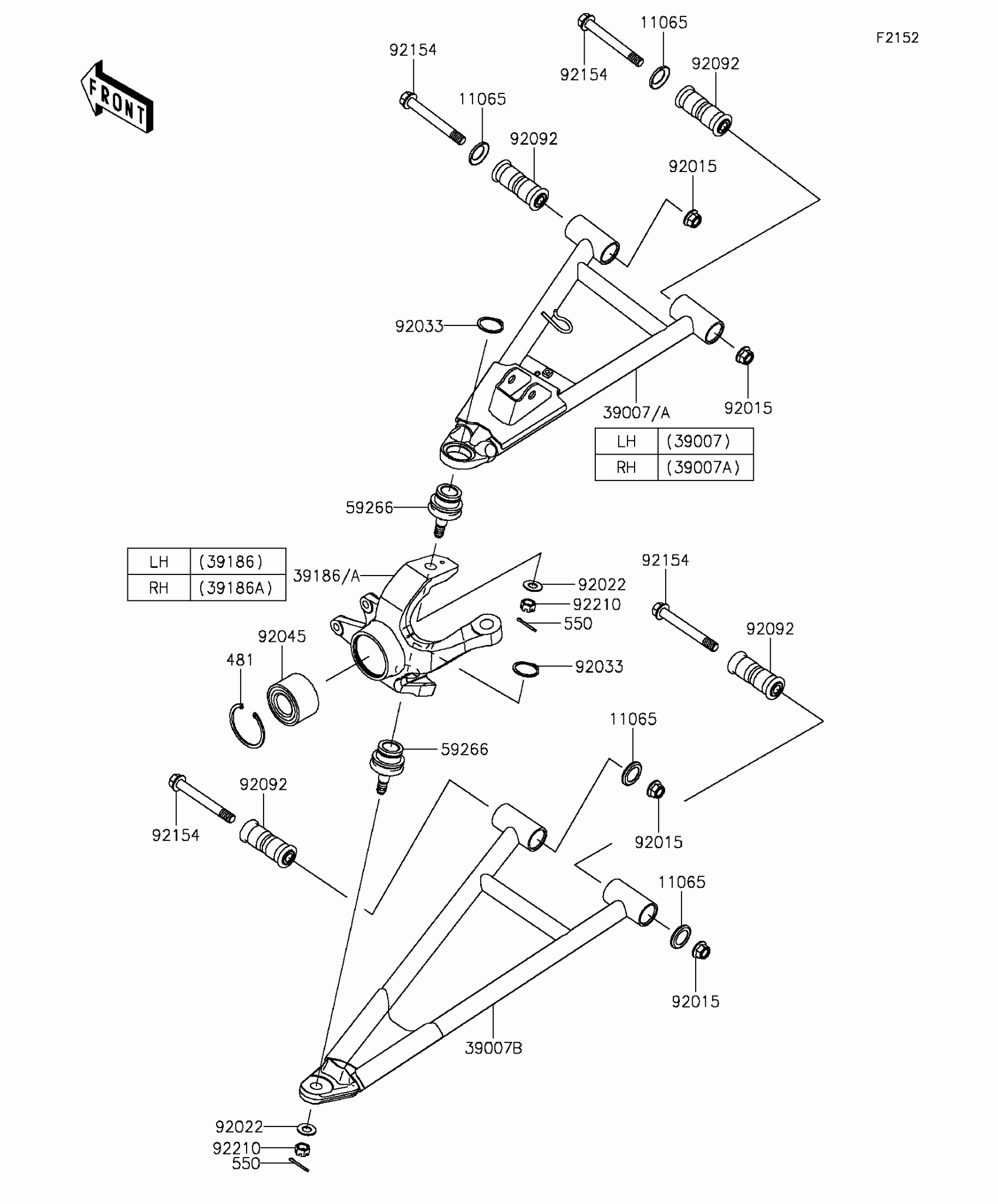
Kawasaki MULE PRO-DXT™ DIESEL Front Suspension Diagram

#

Description
Price

11065

CAP,ARM

11065-0838

$3.87

39007

ARM-SUSP,FR,UPP,LH

39007-0377

$134.78

39007A

ARM-SUSP,FR,UPP,RH

39007-0378

$134.78

39007B

ARM-SUSP,FR,LWR,LH&RH

39007-0383

$128.95

39186

KNUCKLE,FR,LH

39186-0319

$190.27

39186A

KNUCKLE,FR,RH

39186-0320

$190.27

481

CIRCLIP-TYPE-C

481J6000

$3.94

550

PIN-COTTER,3.0X25

550AA3025

$0.62

59266

JOINT-BALL

59266-0711

$96.44

92015

NUT,LOCK,FLANGED,12MM

92015-1433

$8.86

92022

WASHER

92022-1831

$5.52

92033

RING-SNAP,C-TYPE,32MM

92033-1262

$6.41

92045

BEARING-BALL,30X60X37

92045-0762

$63.39

92092

BUSHING-RUBBER,12X20X78

92092-0028

$21.77

92154

BOLT,FLANGED,12X100

92154-1318

$7.59

92210

NUT,CASTLE,12MM

92210-0395

$3.86