Partiron

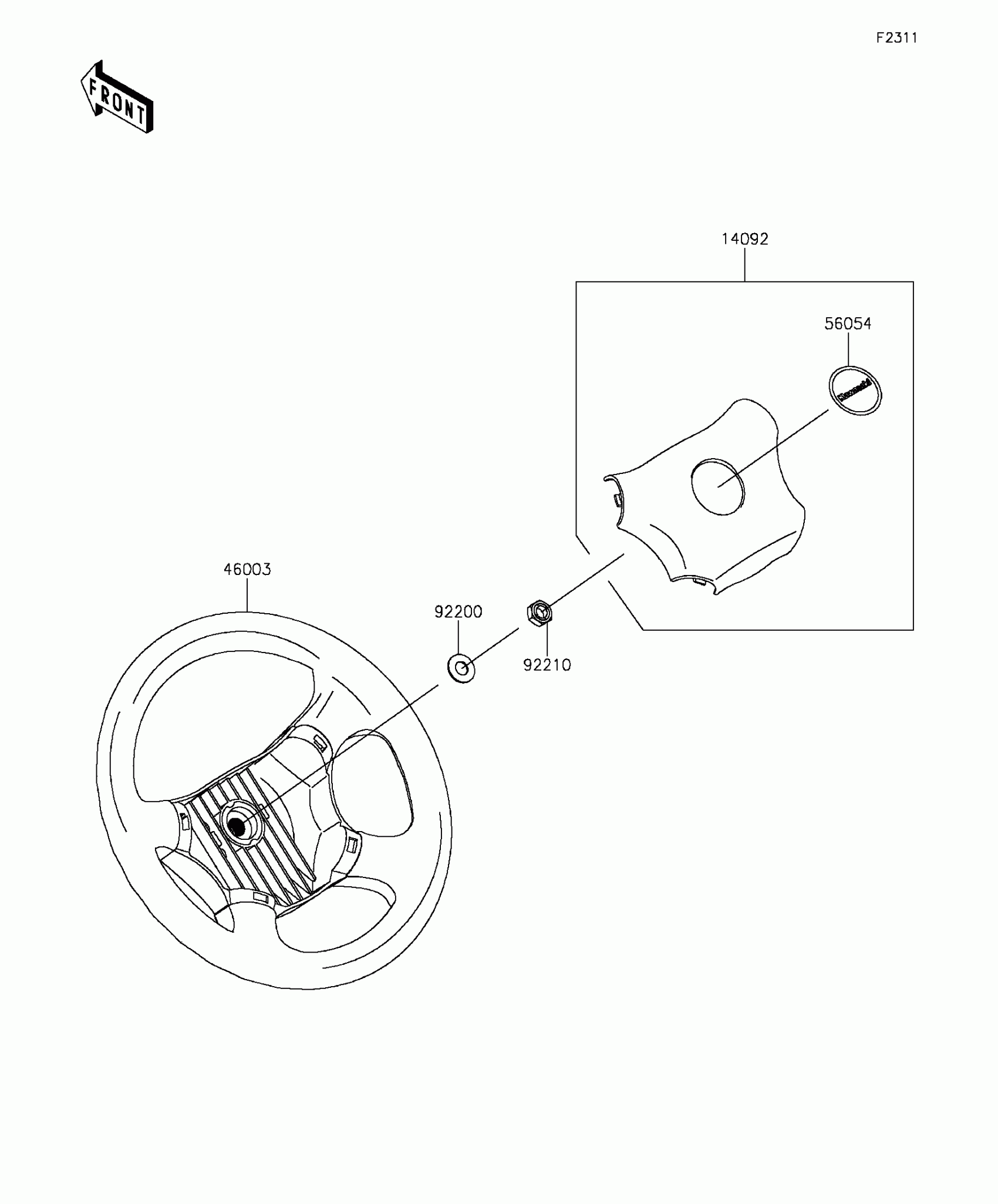
Kawasaki MULE™ 610 4x4 XC SE Steering Wheel Diagram

#

Description
Price

14092

COVER,HORN SWITCH

14092-1029

$12.62

46003

HANDLE

46003-0595

$177.21

56054

MARK,CENTER LOGO,KAWASAKI

56054-1188

$7.62

92200

WASHER,12.1X25X1.6

92200-0455

$2.97

92210

NUT,LOCK,12MM

92210-1249

$7.71