Partiron

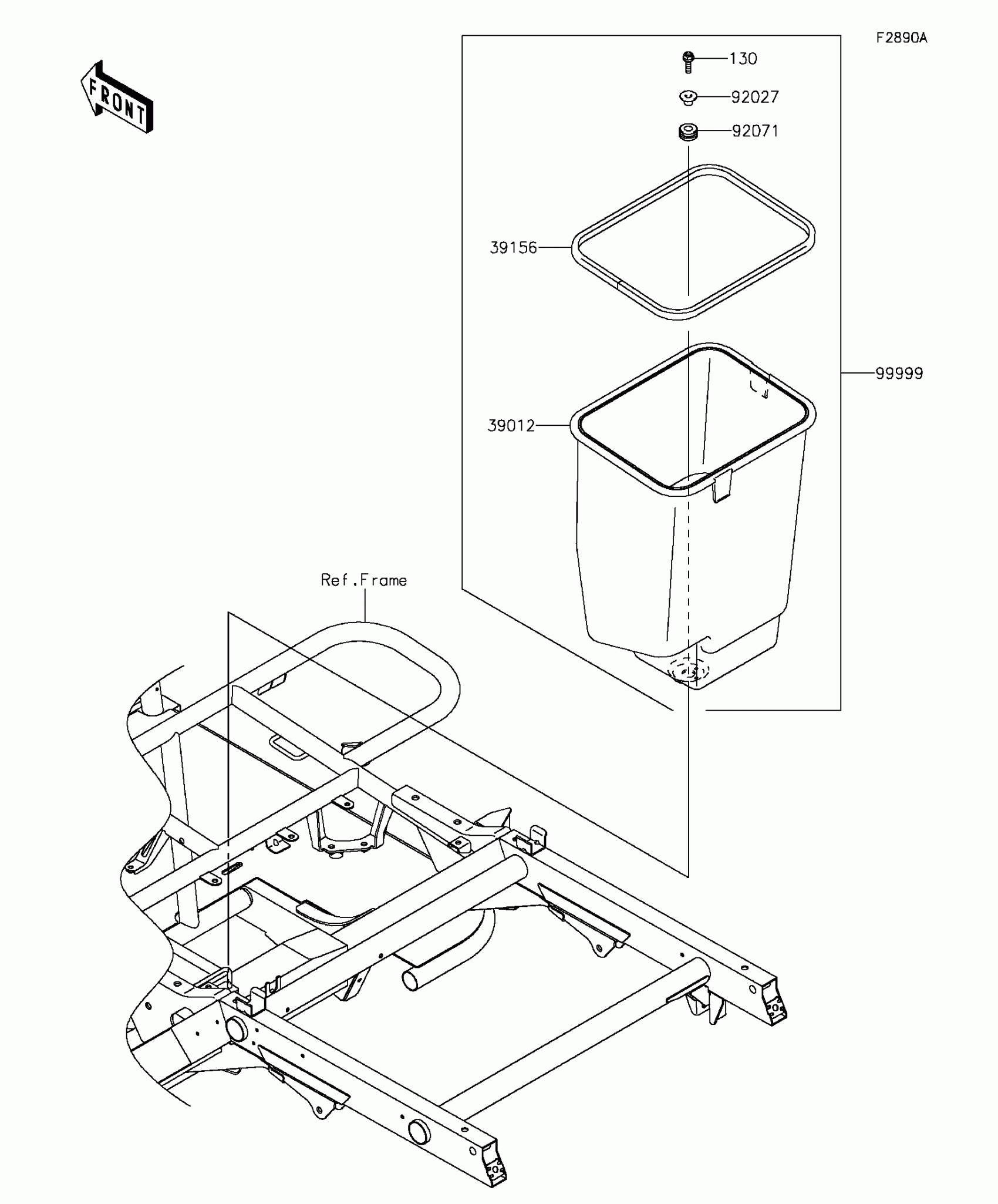
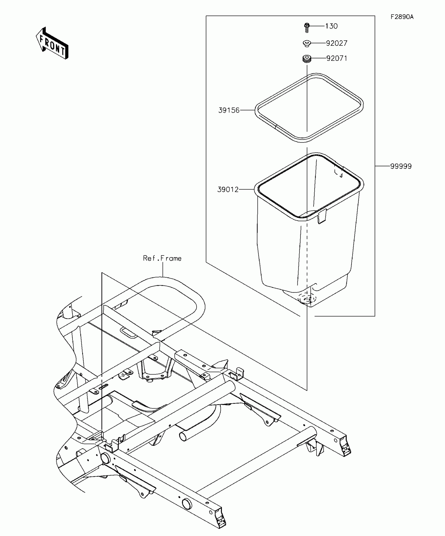
Kawasaki MULE™ 610 4x4 XC CAMO Optional Parts(Frame) Diagram

#

Description
Price

39012

CASE-STORAGE

39012-0006

$53.15

39156

PAD,STORAGE CASE

39156-0052

$7.51

92027

COLLAR

92027-1767

$5.52

92071

GROMMET

92071-1010

$4.65

99999

KIT.,STORAGE BOX

99999-0054

$75.43

130

BOLT-FLANGED,6X20

130BB0620

$0.46