Partiron

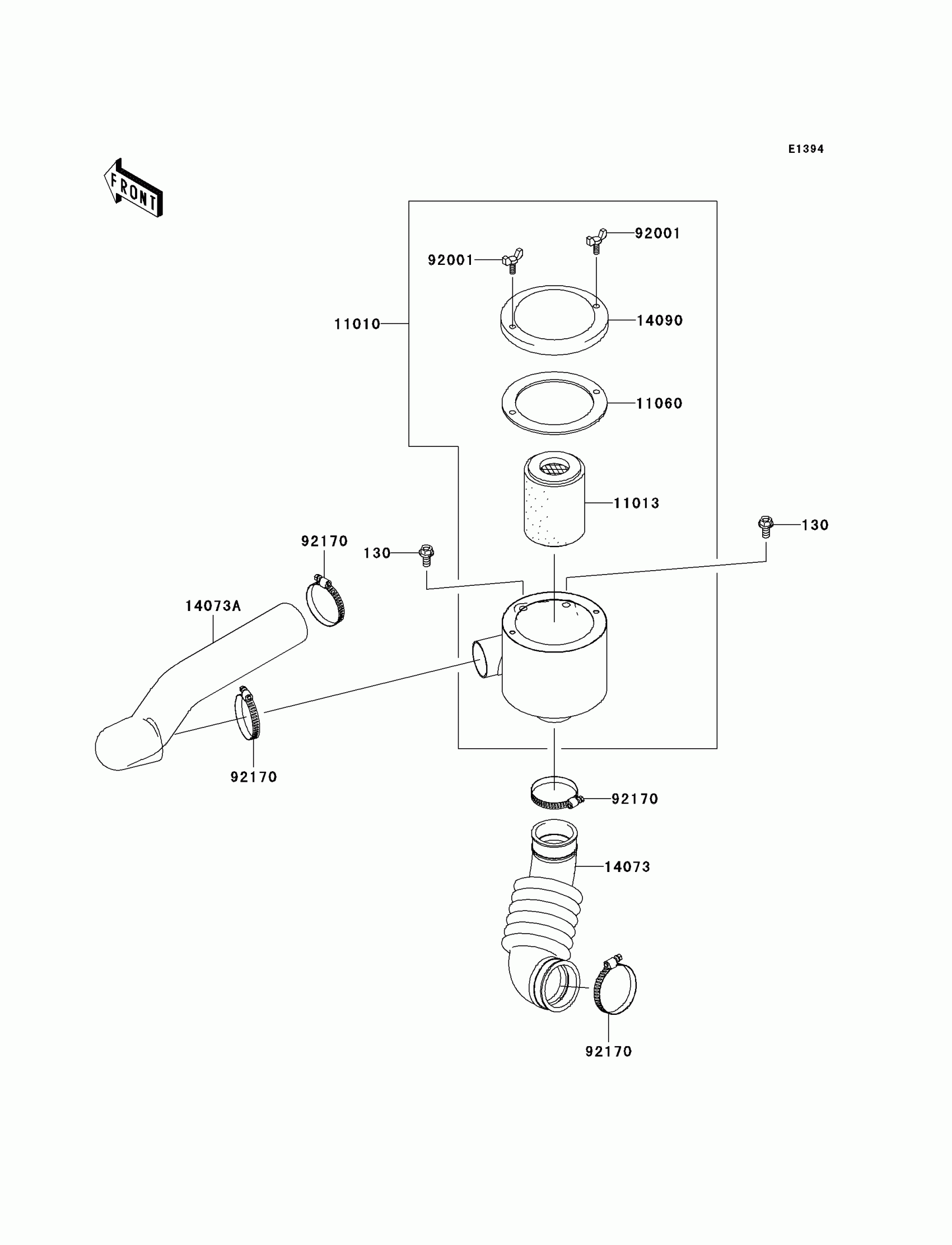
Kawasaki Mule 610 4x4 Air Cleaner-Belt Converter Diagram

#

Description
Price

130

BOLT-FLANGED,8X16

130J0816

$1.66

11010

FILTER-ASSY-AIR

11010-0055

$181.43

11013

ELEMENT-AIR FILTER

11013-1263

$20.58

11060

GASKET,AIR FILTER CASE

11060-1975

$10.57

14073

DUCT,AIR FILTER-CASE

14073-0061

$27.73

14073A

DUCT,BAR-AIR FILTER

14073-0080

$36.32

14090

COVER,AIR FILTER

14090-1766

$12.66

92001

BOLT,WING,6X15

92001-1703

$3.44

92170

CLAMP

92170-1674

$11.76