- Partiron
- OEM Parts
- Kawasaki
- side-x-side
- 2011
- Mule 4010 Trans4x4
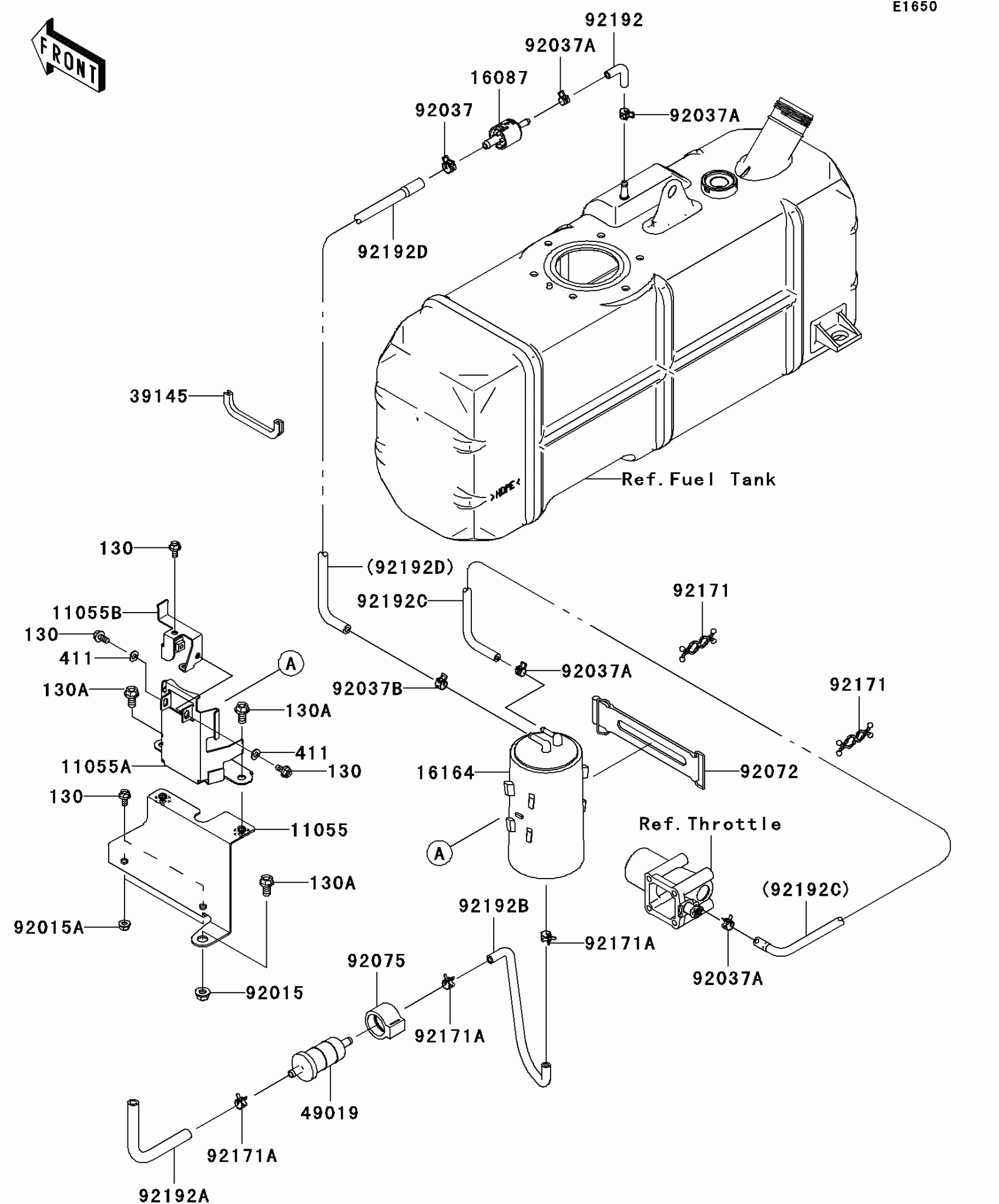
Fuel Evaporative System(CA)
Kawasaki Mule 4010 Trans4x4 Fuel Evaporative System(CA) Diagram
#
Description
Price
16164
CANISTER
16164-0007
Unavailable
