- Partiron
- OEM Parts
- Kawasaki
- side-x-side
- 2012
- MULE™ 4010 TRANS4x4® CAMO
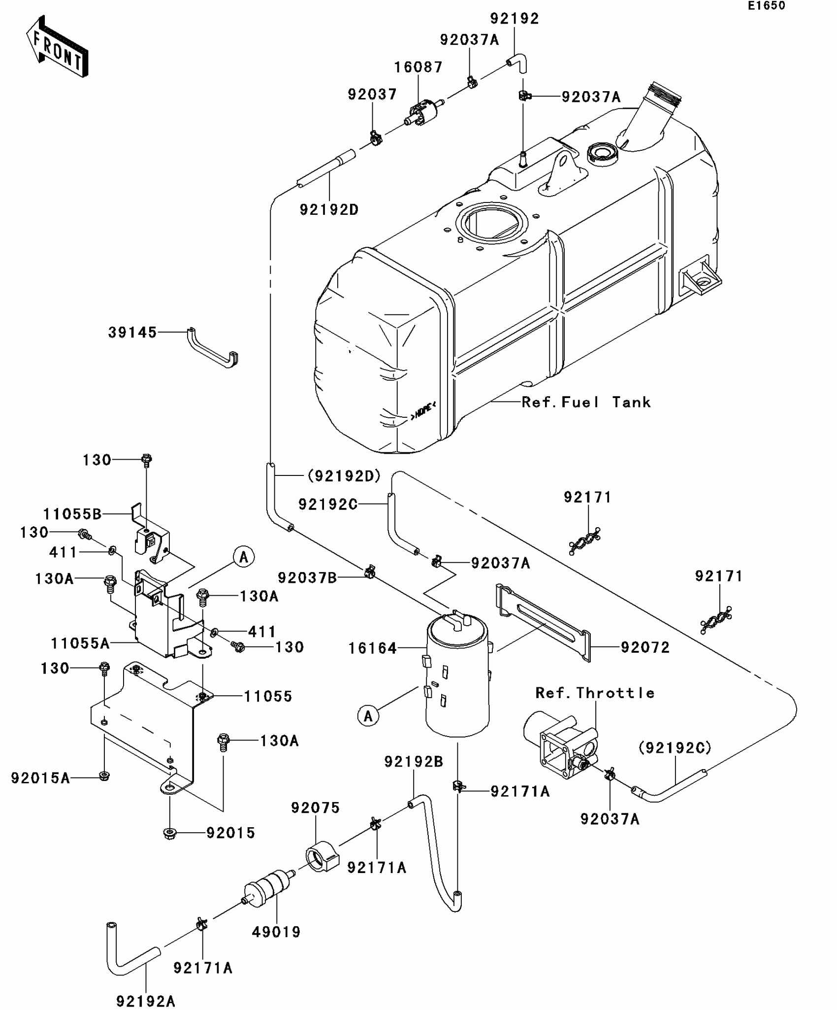
Fuel Evaporative System(CA)
Kawasaki MULE™ 4010 TRANS4x4® CAMO Fuel Evaporative System(CA) Diagram
#
Description
Price
16164
CANISTER
16164-0007
Unavailable
