Partiron

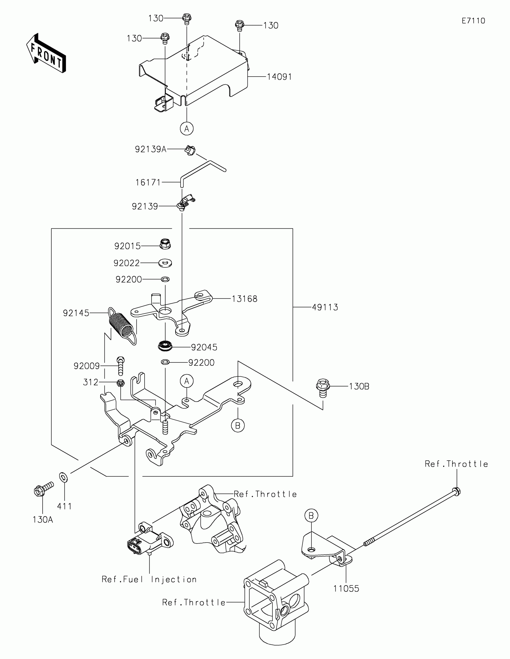
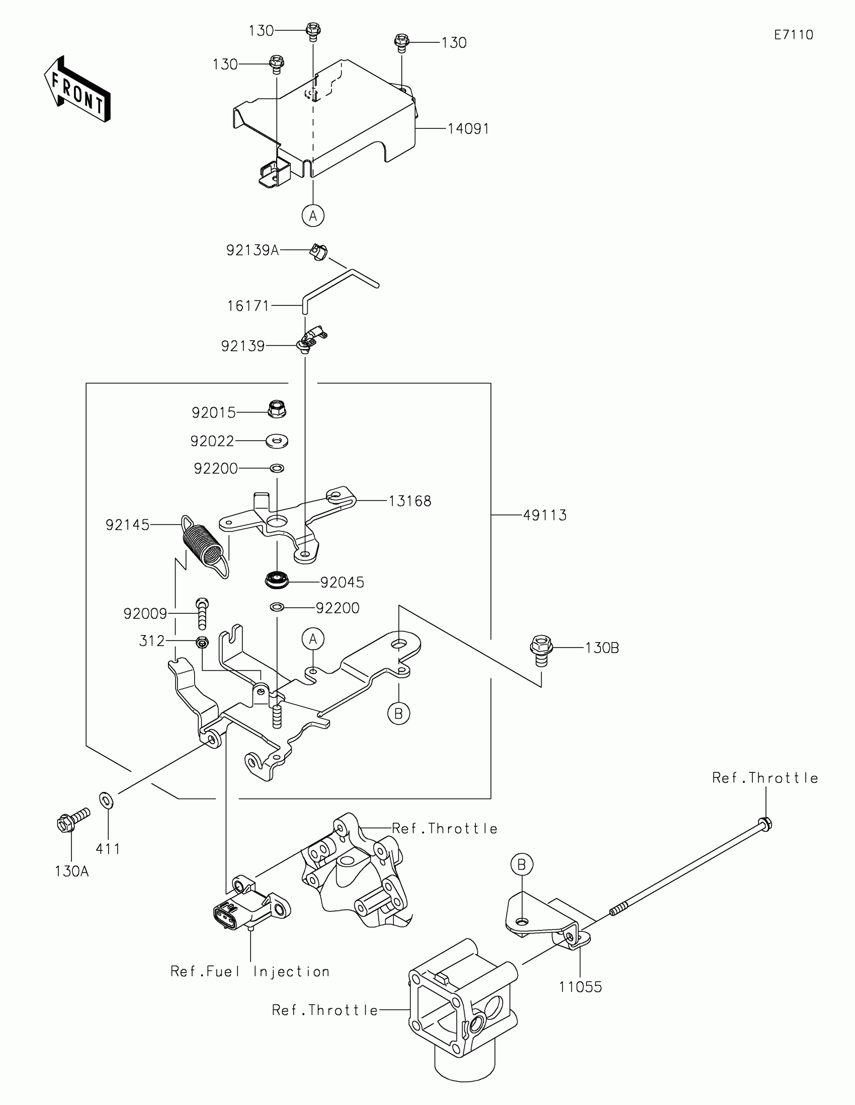
Kawasaki MULE™ 4010 4x4 FE Control Diagram

#

Description
Price

11055

BRACKET

11055-2020

$11.65

13168

LEVER

13168-2509

$39.99

14091

COVER,CONTROL PANEL

14091-1757

$22.70

16171

LINK

16171-2105

$3.67

49113

PANEL-COMP-CONTROL

49113-2211

$87.01

92009

SCREW,5X30

92009-2381

$0.95

92015

NUT,LOCK,FLANGED,6MM

92015-1339

$1.35

92022

WASHER

92022-2247

$0.62

92045

BEARING-BALL,696ZZ1NR MC3

92045-2223

$9.15

92139

BUSHING,CONT-PANEL

92139-2060

$3.09

92139A

BUSHING,THROTTLE-BODY

92139-2061

$3.09

92145

SPRING

92145-2186

$3.00

92200

WASHER,6.2X10X0.5

92200-2083

$4.99

130

BOLT-FLANGED,5X8

130BA0508

$1.86

130A

BOLT-FLANGED,6X20

130BA0620

$1.74

130B

BOLT-FLANGED,8X14

130BA0814

$2.16

312

NUT-HEX,5MM

312AA0500

$0.47

411

WASHER-PLAIN,6MM

411AB0600

$1.18