Partiron

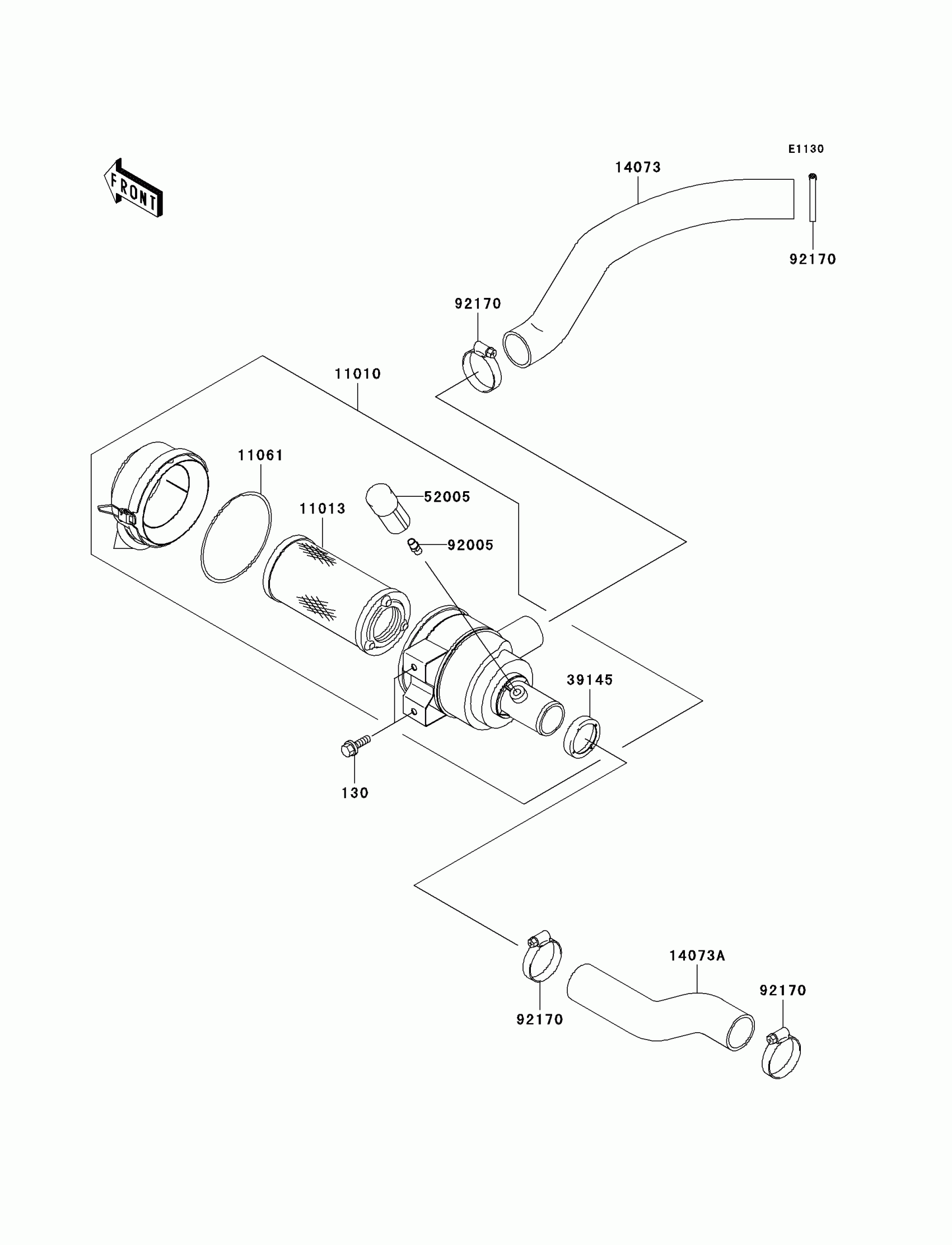
Kawasaki Mule 3020 Turf Air Cleaner Diagram

#

Description
Price

130

BOLT-FLANGED,8X14

130J0814

$3.84

11010

FILTER-ASSY-AIR

11010-1756

$149.11

11013

ELEMENT-AIR FILTER

11013-1290

$28.98

11061

GASKET,AIR FILTER

11061-1078

$17.32

14073

DUCT,FRAME-A/C

14073-1782

$39.91

14073A

DUCT,A/C-AIR CHAMBER

14073-1783

$26.94

39145

TRIM-SEAL

39145-1133

$7.68

52005

GAUGE,AIR FILTER

52005-1149

$9.02

92005

FITTING,AIR FILTER

92005-1386

$1.75

92170

CLAMP

92170-1674

$11.76