- Partiron
- OEM Parts
- Honda
- MOTORCYCLE
- Models With No Year
- MT250A MOTORCYCLE, JPN, VIN# MT250-1000001
TAILLIGHT
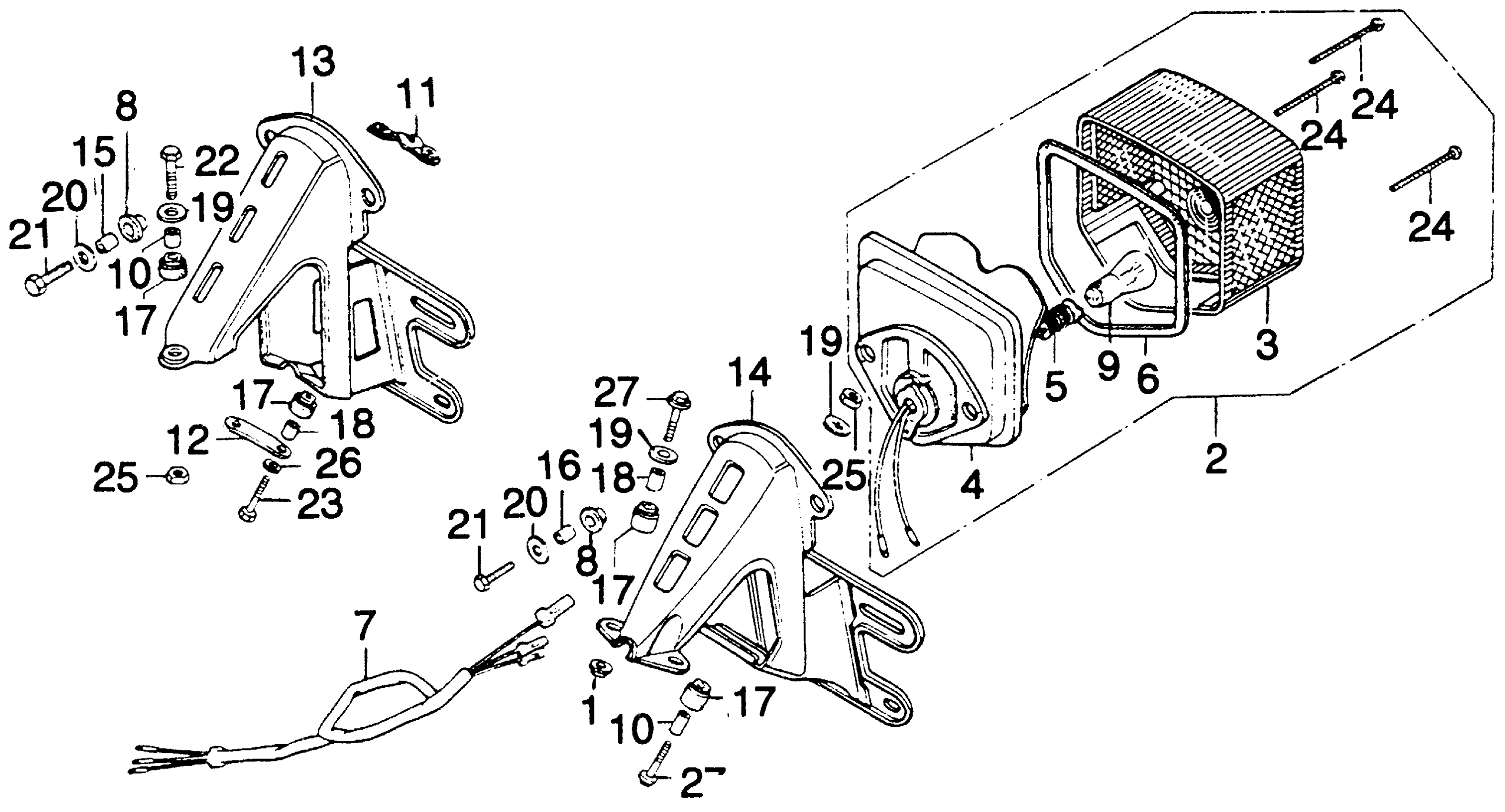
Honda MT250A MOTORCYCLE, JPN, VIN# MT250-1000001 TAILLIGHT Diagram
#
Description
Price
2
TAILLIGHT UNIT (NOT AVAILABLE)
33701-329-671
Unavailable
3
LENS, TAILLIGHT
33702-329-671
Unavailable
4
BASE, TAILLIGHT (NOT AVAILABLE)
33703-329-670
Unavailable
5
WIRE, TAILLIGHT
33708-098-000
Unavailable
5
WIRE, TAILLIGHT This part replaces 33708-341-671.
33708-098-000
Unavailable
7
CABLE, TAILLIGHT SUB (NOT AVAILABLE) | Use from Frame SN 1032428
33713-356-670
Unavailable
10
COLLAR, BATTERY BOX
50324-300-000
Unavailable
11
PLATE A, NUMBER BRACKET SETTING (NOT AVAILABLE)
80109-340-000
Unavailable
12
PLATE B, NUMBER BRACKET MOUNT (NOT AVAILABLE)
80110-312-000
Unavailable
13
BRACKET, NUMBER PLATE (NOT AVAILABLE)
84701-358-670
Unavailable
