- Partiron
- OEM Parts
- Yamaha
- motorcycle
- 2025
- MT10SPSS (MT10 SP) BGGP 2025
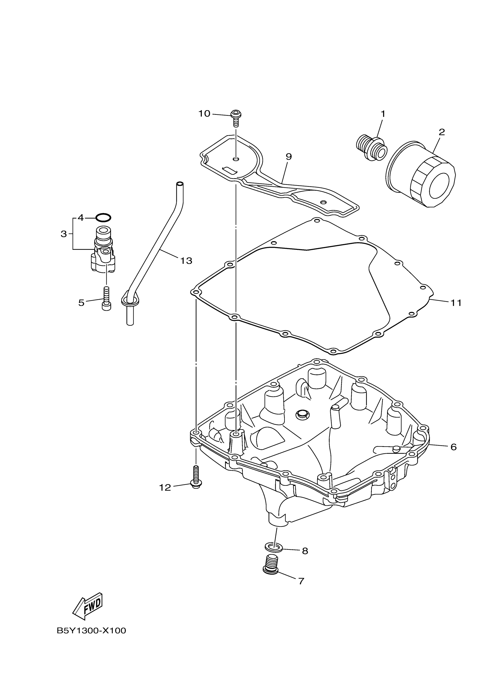
OIL CLEANER
Yamaha MT10SPSS (MT10 SP) BGGP 2025 OIL CLEANER Diagram
#
Description
Price
2
ELEMENT ASSY, OIL
5GH-13440-90-00
Unavailable
9
PLATE, BAFFLE LOWER
2CR-13337-01-00
Unavailable
