- Partiron
- OEM Parts
- Yamaha
- motorcycle
- 2022
- MT10SPNS (MT10SP) BGG2 2022
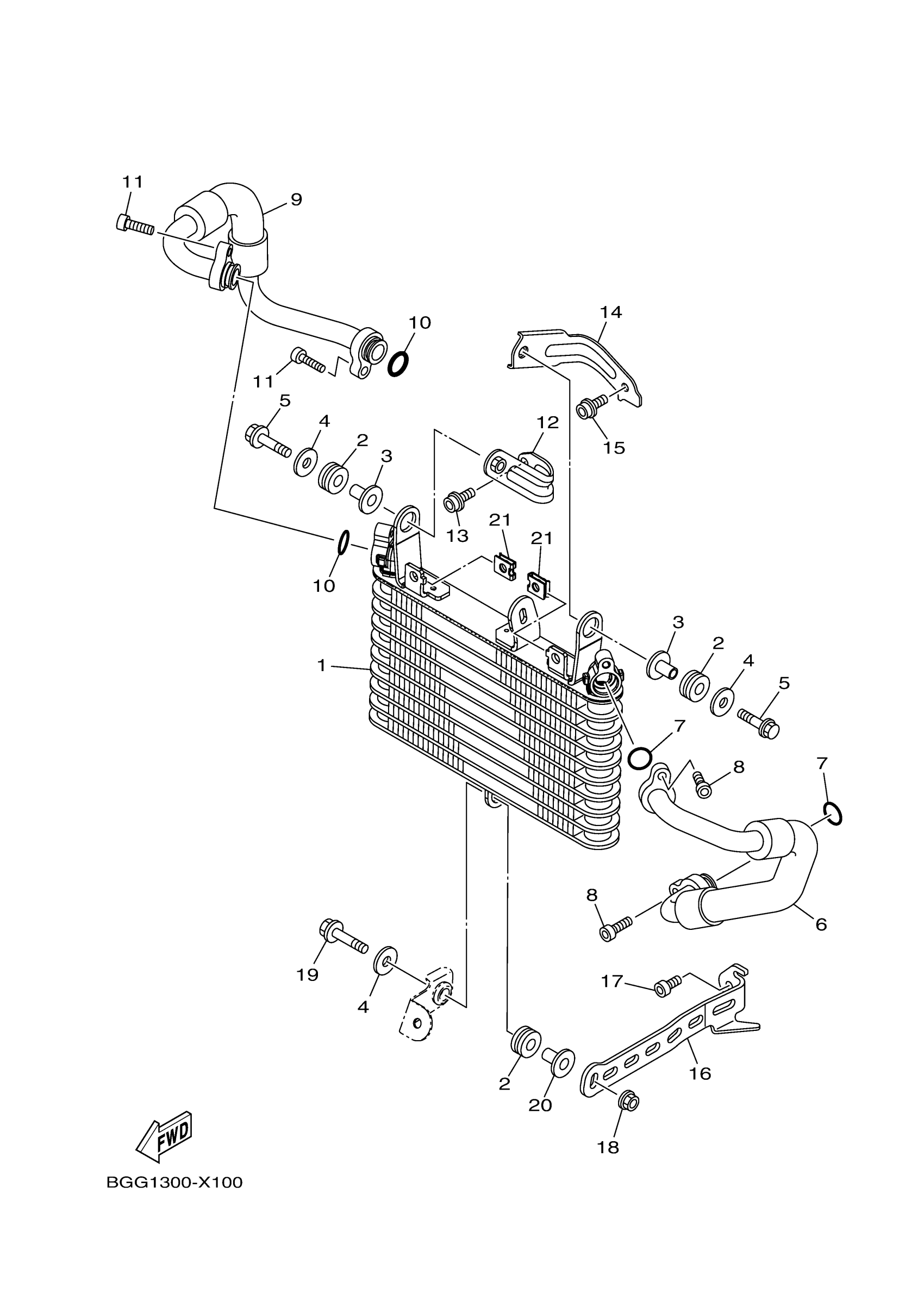
OIL COOLER
Yamaha MT10SPNS (MT10SP) BGG2 2022 OIL COOLER Diagram
#
Description
Price
13
BOLT, HEXAGON SOCKET HEAD
90110-06341-00
Unavailable
15
BOLT, HEXAGON SOCKET HEAD
90110-06341-00
Unavailable
16
STAY
B5Y-13782-00-00
Unavailable
17
BOLT, HEXAGON SOCKET HEAD
90110-06341-00
Unavailable
18
NUT,SELF-LOCKING
95607-06200-00
Unavailable
19
BOLT, FLANGE
95817-06040-00
Unavailable
20
COLLAR
90387-06098-00
Unavailable
21
NUT 1
5SL-12671-00-00
Unavailable
