- Partiron
- OEM Parts
- Yamaha
- motorcycle
- 2018
- MT10JL (MT10) B6790 2018
OIL COOLER
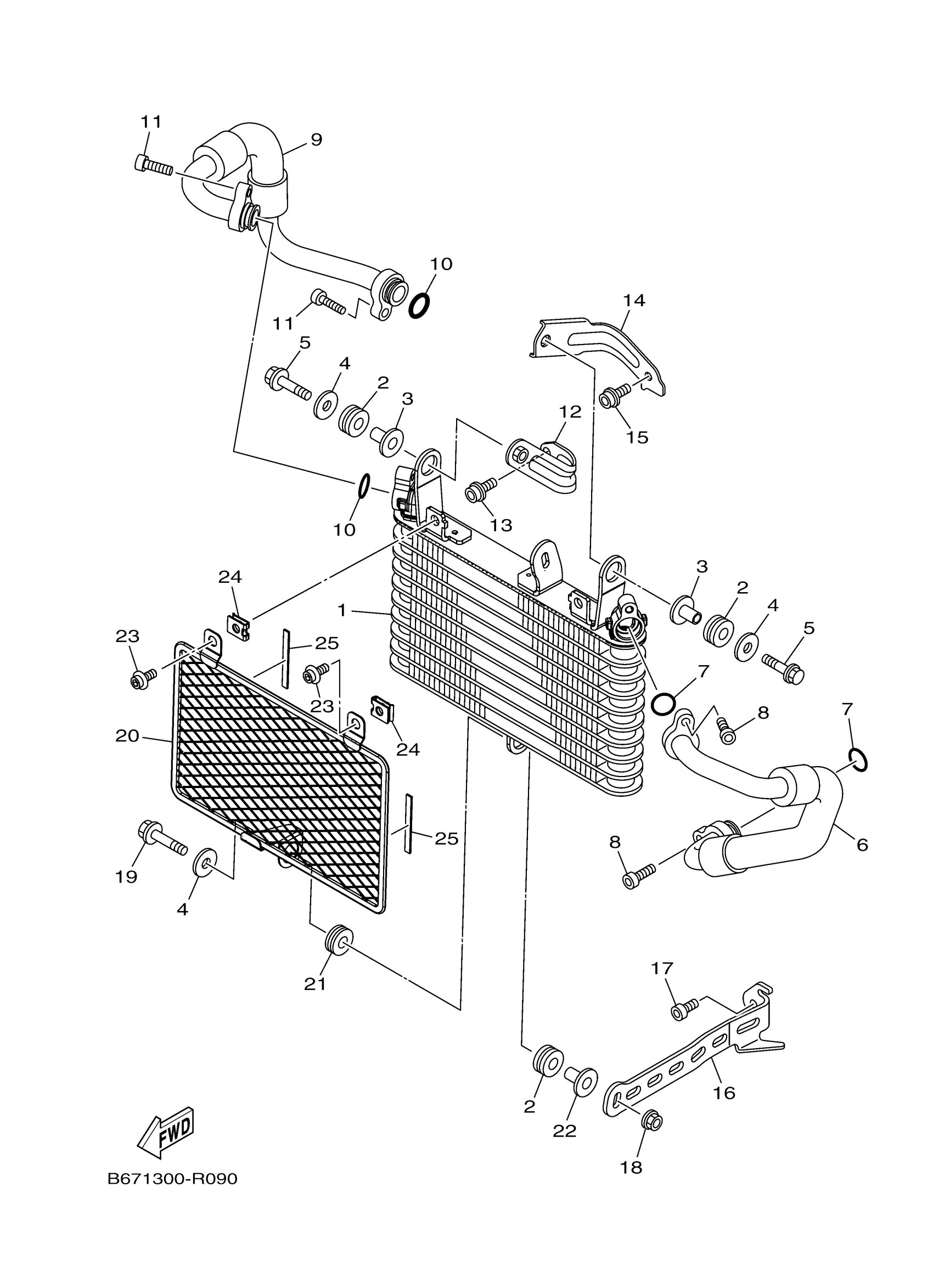
Yamaha MT10JL (MT10) B6790 2018 OIL COOLER Diagram
#
Description
Price
13
BOLT, HEXAGON SOCKET HEAD
90110-06341-00
Unavailable
15
BOLT, HEXAGON SOCKET HEAD
90110-06341-00
Unavailable
16
STAY
B67-13782-00-00
Unavailable
17
BOLT, HEXAGON SOCKET HEAD
90110-06341-00
Unavailable
18
NUT,SELF-LOCKING
95607-06200-00
Unavailable
19
BOLT, FLANGE
95817-06040-00
Unavailable
20
COVER, OIL COOLER
B67-13463-00-00
Unavailable
21
GROMMET, ANODE
27D-11328-00-00
Unavailable
22
COLLAR
90387-06098-00
Unavailable
23
BOLT, HEXAGON SOCKET HEAD
90110-06400-00
Unavailable
24
NUT 1
5SL-12671-00-00
Unavailable
25
DAMPER
2CR-13381-00-00
Unavailable
