- Partiron
- OEM Parts
- Yamaha
- motorcycle
- 2018
- MT07JW (MT07) B4C21 2018
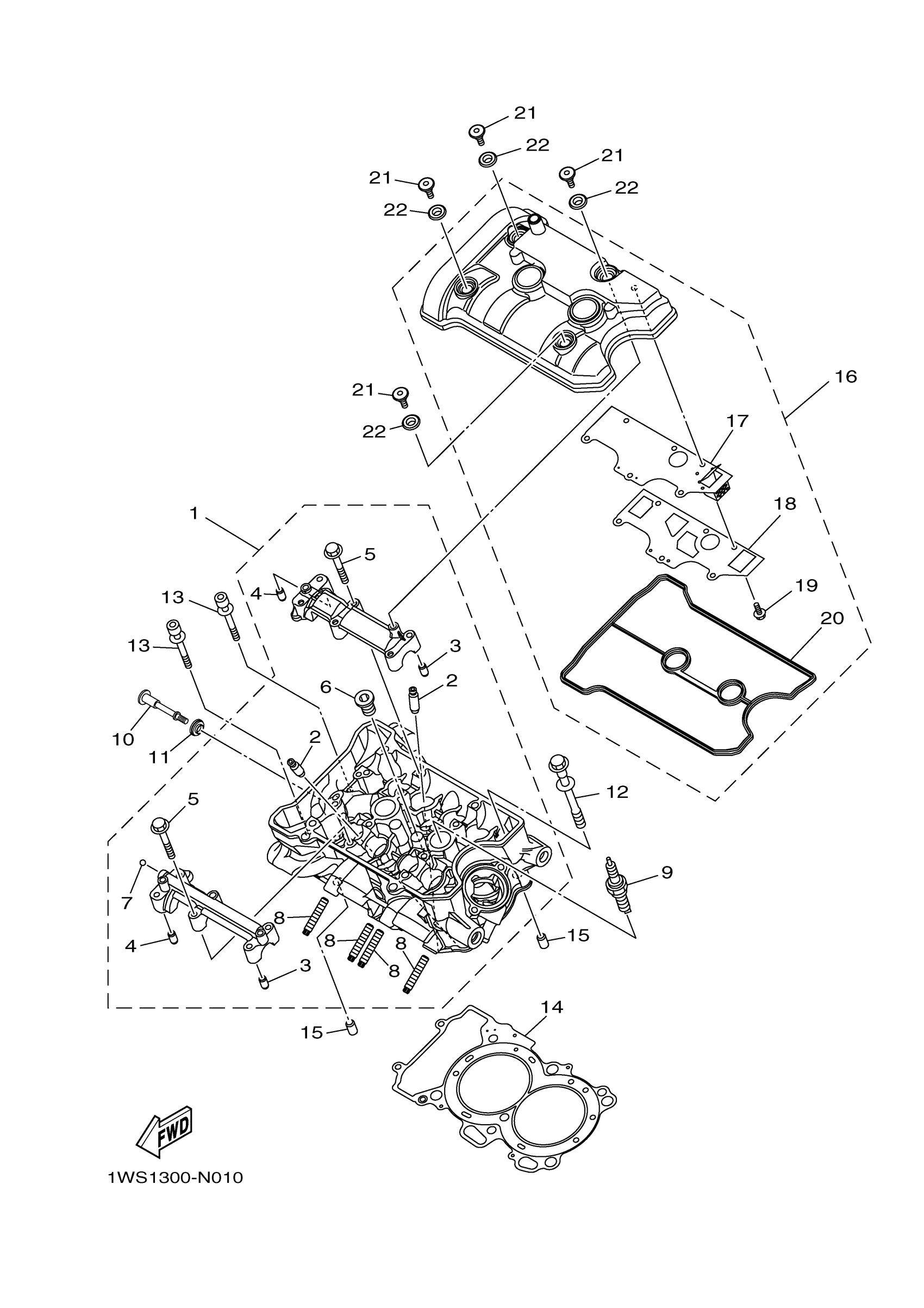
CYLINDER HEAD
Yamaha MT07JW (MT07) B4C21 2018 CYLINDER HEAD Diagram
#
Description
Price
9
PLUG, SPARK (NGK LMAR8A-9)
LMA-R8A9S-00-00
Unavailable
13
BOLT, HEXAGON SOCKET HEAD
90110-06081-00
Unavailable
16
COVER, CYLINDER HEAD 1
1WS-11190-02-00
Unavailable
17
PLATE, BREATHER
1WS-11165-00-00
Unavailable
18
GASKET, BREATHER C
1WS-11169-00-00
Unavailable
19
BOLT, FLANGE
90105-05025-00
Unavailable
20
GASKET, HEAD COVER 1
1WS-11193-01-00
Unavailable
21
BOLT(4BP)
90109-066F0-00
Unavailable
