- Partiron
- OEM Parts
- Polaris
- Watercraft
- PWC
- 2004
- MSX 110 - W045304CA
HULL and BODY - W045304CA/IA/CB/IB/CC/IC (4990559055A06)
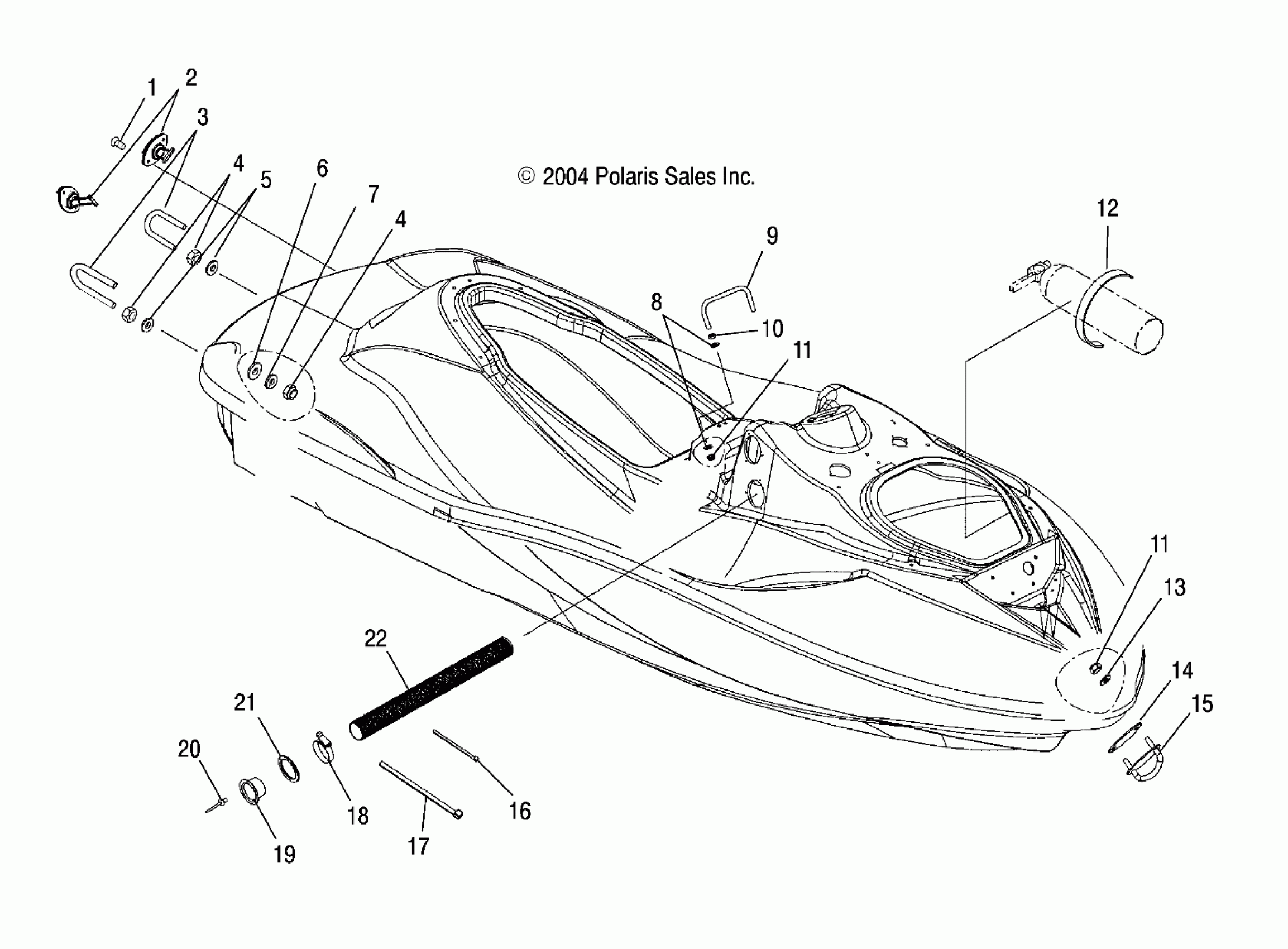
Polaris MSX 110 - W045304CA HULL and BODY - W045304CA/IA/CB/IB/CC/IC (4990559055A06) Diagram
#
Description
Price
1
Screw
7511882
Unavailable
2
Asm., Bilge, Plug
1060125
Unavailable
3
U-Bolt
7518220
Unavailable
5
Washer, Rubber
7555870
Unavailable
7
Washer, Lock
7552613
Unavailable
9
U-Bolt
7518194
Unavailable
10
Nut
7547235
Unavailable
12
Strap, Velcro
7081140
Unavailable
13
Washer
7555834
Unavailable
14
Gasket, Strap, Bow
5812021
Unavailable
15
Strap, Bow
2632213
Unavailable
17
Cable Tie, 21.25 Inch
7080598
Unavailable
19
Flange
5433220
Unavailable
20
Rivet
7661042
Unavailable
21
Gasket
5411545
Unavailable
22
Duct, Inlet, Air 38 Inch [LH]
5434563
Unavailable
22
Duct, Inlet, Air 76 Inch [RH]
5430016
Unavailable
