- Partiron
- OEM Parts
- Honda
- MOTORCYCLE
- Models With No Year
- MR50A MOTORCYCLE, JPN, VIN# MR50-1000001 TO MR50-1030570
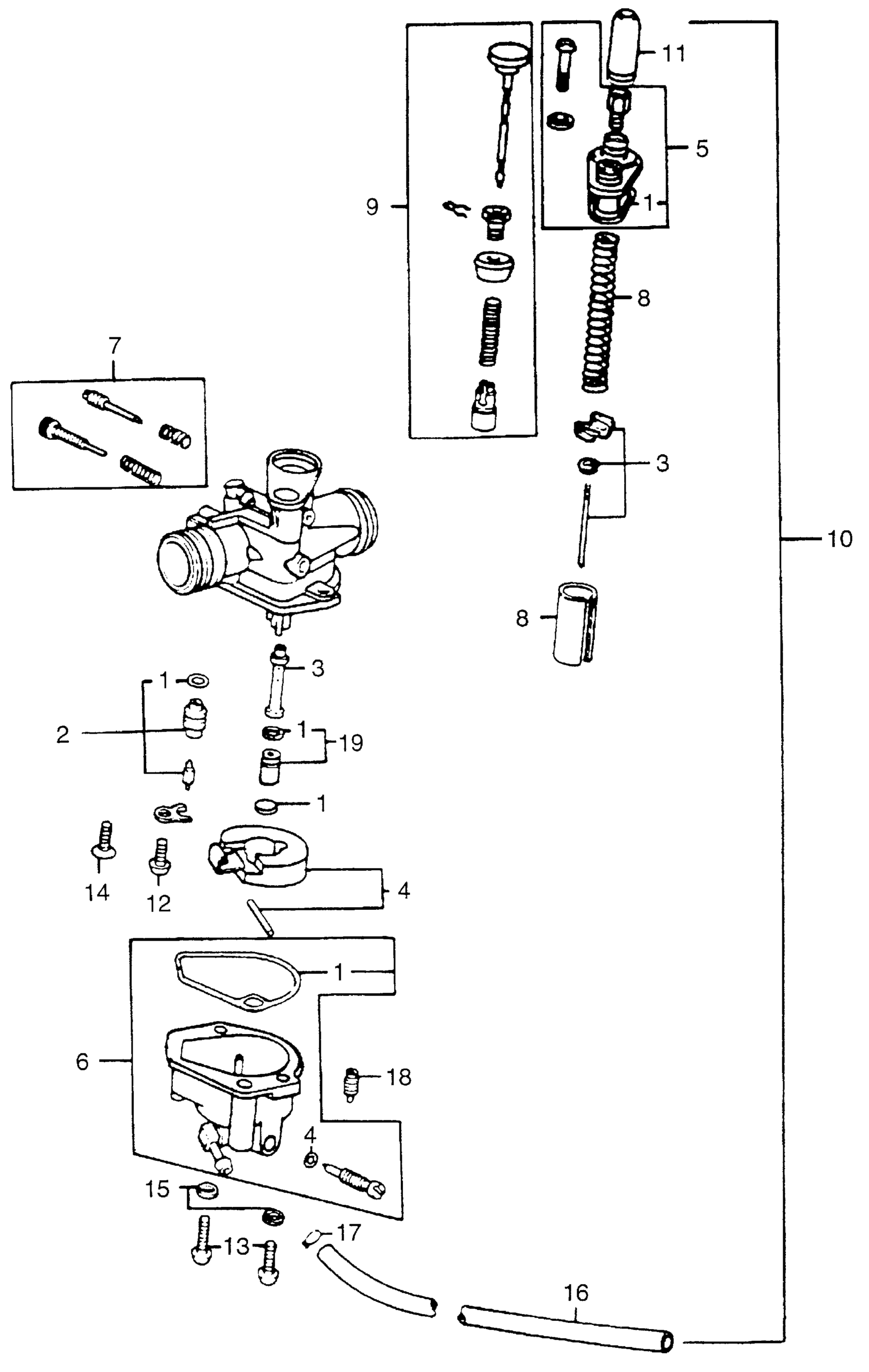
CARBURETOR
Honda MR50A MOTORCYCLE, JPN, VIN# MR50-1000001 TO MR50-1030570 CARBURETOR Diagram
#
Description
Price
1
GASKET SET
16010-122-305
Unavailable
1
GASKET SET This part replaces 16010-131-004.
16010-122-305
Unavailable
3
NEEDLE SET, JET
16012-131-004
Unavailable
4
FLOAT SET (NOT AVAILABLE)
16013-114-004
Unavailable
5
TOP SET (NOT AVAILABLE)
16014-131-004
Unavailable
6
CHAMBER SET, FLOAT (NOT AVAILABLE)
16015-131-004
Unavailable
7
SCREW SET (NOT AVAILABLE)
16016-122-004
Unavailable
8
VALVE SET, THROTTLE (NOT AVAILABLE)
16022-131-004
Unavailable
9
VALVE SET, STARTER (NOT AVAILABLE)
16046-131-004
Unavailable
10
CARBURETOR ASSY. (NOT AVAILABLE)
16100-131-004
Unavailable
14
SCREW, OVAL (3X8) (NOT AVAILABLE)
93700-03008-0A
Unavailable
18
JET, STARTER (#60) (NOT AVAILABLE)
99134-836-0600
Unavailable
19
JET SET, MAIN (#75) (NOT AVAILABLE)
99201-122-0750
Unavailable
