- Partiron
- OEM Parts
- Yamaha
- snowmobile
- 2021
- MM8N54ML (MOUNTAIN MAX 800 154) 8NS3 2021
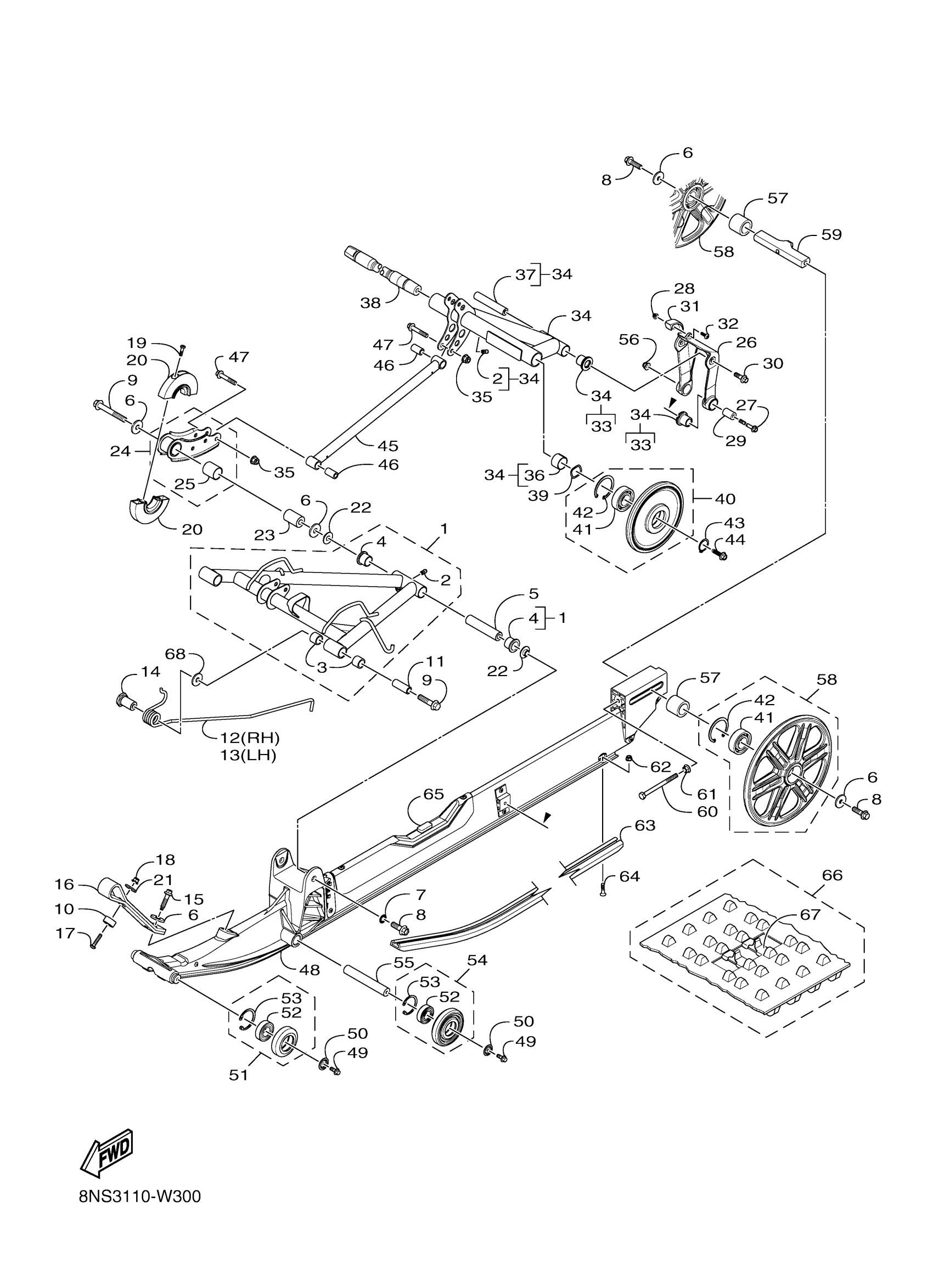
TRACK SUSPENSION 1
Yamaha MM8N54ML (MOUNTAIN MAX 800 154) 8NS3 2021 TRACK SUSPENSION 1 Diagram
#
1
ARM, PIVOT 1
8NS-G7331-10-00
Unavailable
8
BOLT, FLANGE
8ND-RA121-00-00
Unavailable
10
BUMPER
8NS-G2659-00-00
Unavailable
11
COLLAR, 16
8JP-RA733-00-00
Unavailable
12
SCRAPER
8NS-G381D-10-00
Unavailable
13
SCRAPER
8NS-G381D-00-00
Unavailable
16
STOPPER
8NS-G6432-00-00
Unavailable
17
SCREW, M6X1.0X30
8JP-RA265-00-00
Unavailable
18
NUT,FLG. M6-1.0
8JM-RA322-00-00
Unavailable
19
SCREW, 10-14X3/4
8JP-RA289-00-00
Unavailable
20
RIM,GUIDE WHEEL
8JR-G7513-00-00
Unavailable
21
WASHER, 6.87X25.4X
8JP-RA450-00-00
Unavailable
22
COLLAR, 13
8JP-RA725-00-00
Unavailable
23
SHAFT 1
8NS-G7465-00-00
Unavailable
24
BRACKET, ARM PIVOT
8NS-47349-00-00
Unavailable
25
BUSH
8NS-RA800-00-00
Unavailable
26
BRACKET 3
8NS-G7417-00-00
Unavailable
27
BOLT, FLANGE
8NS-RA106-00-00
Unavailable
28
NUT, FLG. LOCKING
8JP-RA363-00-00
Unavailable
29
SHAFT 2
8NS-G7475-00-00
Unavailable
30
BOLT, FLG. M8X1.25
8JP-RA186-00-00
Unavailable
31
SLIDER 1
8NS-G7441-00-00
Unavailable
32
SCREW, 5
8LJ-RA239-00-00
Unavailable
33
BUSH
8NS-RA801-00-00
Unavailable
34
ARM, PIVOT 2
8NS-G7332-00-00
Unavailable
35
NUT FLANGE LOCKING
8JP-RA360-10-00
Unavailable
36
BUSH, 6
8JP-RA815-00-00
Unavailable
37
SHAFT 3
8NS-G7485-00-00
Unavailable
38
SHAFT 2
8JR-G7475-30-00
Unavailable
39
WASHER, WAVE
8JP-RA463-00-00
Unavailable
40
WHEEL,SUSPENSION 2
8JR-G7312-00-00
Unavailable
41
BEARING, 3
8JP-RAG08-00-00
Unavailable
42
CIRCLIP, 4
8JP-RAH10-00-00
Unavailable
43
CIRCLIP, 5
8JP-RAH11-00-00
Unavailable
44
BOLT, FLG. M10X1.2
8JP-RA1A0-00-00
Unavailable
45
ROD, RELAY
8JR-G7494-10-00
Unavailable
46
COLLAR 12
8JP-RA724-10-00
Unavailable
47
BOLT,FLG. M10X1.25X45
8JP-RA1A2-00-00
Unavailable
48
FRAME, SLIDING
8NS-G741A-10-00
Unavailable
49
BOLT, FLG. M6X1.0X
8JP-RA180-00-00
Unavailable
50
WASHER, 9
8JP-RA466-00-00
Unavailable
51
SUSPENSION WHL ASY
8JR-G7310-10-00
Unavailable
52
BRNG,WHL-NSK CHINA6004-W/ENS G
8JM-RAY03-00-00
Unavailable
53
CIRCLIP, 2
8JM-RAH01-00-00
Unavailable
54
WHEEL, SUSPENSION
8NS-G7311-00-00
Unavailable
55
SHAFT 4
8NS-G7486-00-00
Unavailable
56
NUT,SELF-LOCKING M8-1.25
8KG-RA301-00-00
Unavailable
57
COLLAR
8NS-G7319-00-00
Unavailable
58
SUSPENSION WHEEL A
8NS-G7310-00-00
Unavailable
59
WHEEL, GUIDE 1
8NS-G7534-00-00
Unavailable
60
BOLT, HEX. M8X1.25
8JP-RA1B1-00-00
Unavailable
61
NUT, SELF-LOCKING
8NS-RA300-00-00
Unavailable
62
NUT, FLG. LOCKING
8JP-RA357-00-00
Unavailable
63
RUNNER, SLIDING 1
8NS-G7421-00-00
Unavailable
64
SCREW,MACH-PHFH 1/4-20 X 1 1/8
8JM-RA206-00-00
Unavailable
65
DAMPER 2
8NS-G7457-00-00
Unavailable
66
TRACK ASSY
8NS-G7110-00-00
Unavailable
67
PLATE, REINFORCEME
8NS-G7113-00-00
Unavailable
68
WASHER, 10.98X28.0
8JP-RA443-00-00
Unavailable
