- Partiron
- OEM Parts
- Yamaha
- snowmobile
- 2002
- MM700G (MOUNTAIN MAX 700) 8ED3 2002
TRACK SUSPENSION 2
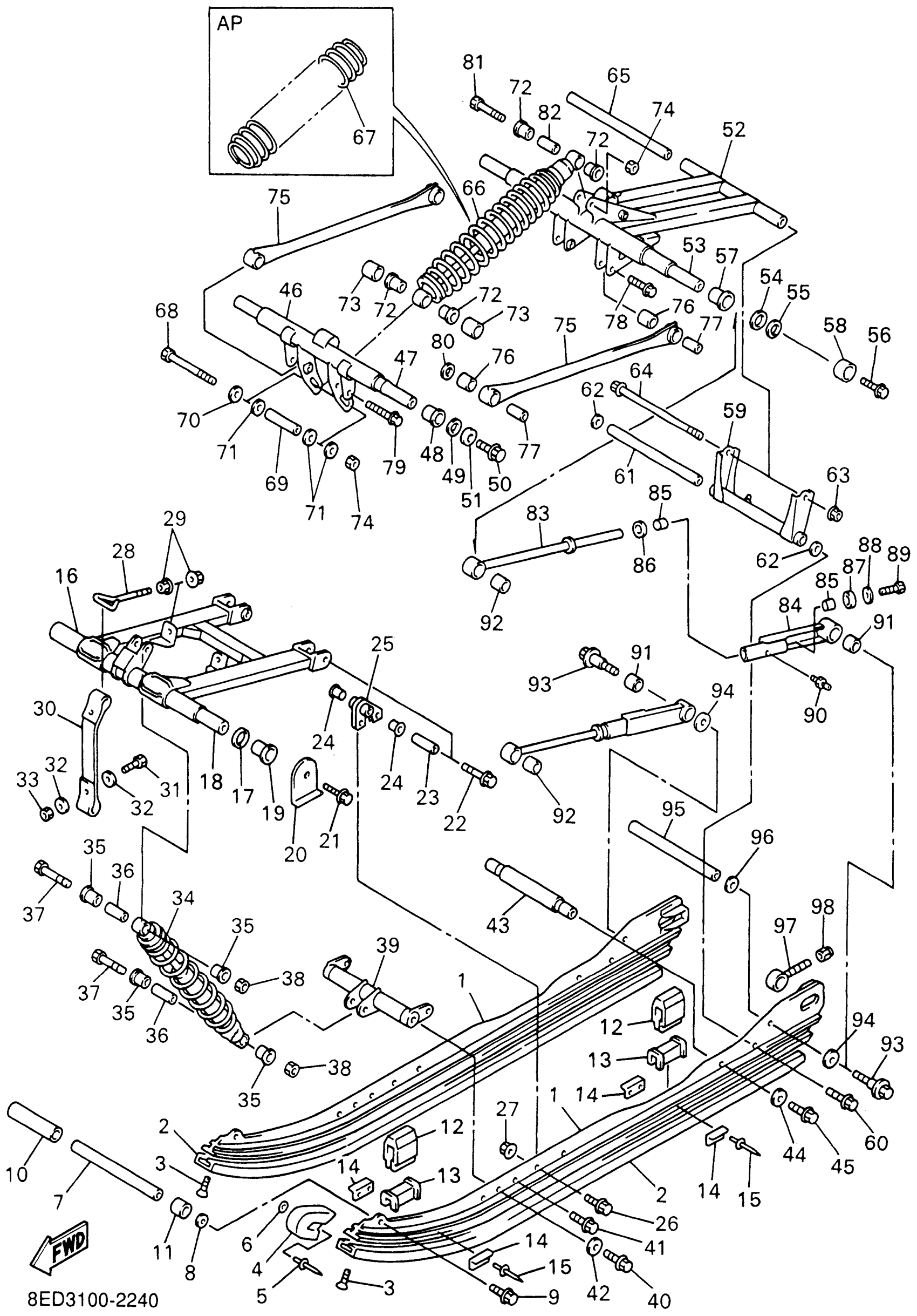
Yamaha MM700G (MOUNTAIN MAX 700) 8ED3 2002 TRACK SUSPENSION 2 Diagram
#
1
FRAME, SLIDING
8ED-W4741-00-00
Unavailable
2
151 BLACK HYFAX
SMA-8EP92-70-BK
Unavailable
7
SHAFT 3
82M-47485-02-00
Unavailable
11
COLLAR
90387-20003-00
Unavailable
16
ARM, PIVOT 1
8ED-47331-00-00
Unavailable
17
WASHER, PLATE(8CJ)
90201-210U0-00
Unavailable
18
SHAFT 1
8CR-47465-00-00
Unavailable
19
BUSH, SOLID(8CJ)
90381-19111-00
Unavailable
20
BRACKET, REAR 1
8ED-47426-00-00
Unavailable
21
BOLT (8V0)
90109-10771-00
Unavailable
22
BOLT, FLANGE
90105-10029-00
Unavailable
23
COLLAR(8CJ)
90387-1009T-00
Unavailable
24
BUSH, SOLID(8CJ)
90381-15112-00
Unavailable
25
BRACKET 1
8ED-47415-00-00
Unavailable
26
BOLT, FLANGE(3GD)
95817-10025-00
Unavailable
27
NUT, SELF-LOCKING(JN5)
95607-10200-00
Unavailable
28
HOOK 3
8CR-47448-00-00
Unavailable
29
NUT, FLANGE(JN5)
95707-08500-00
Unavailable
30
STOPPER 1
8ED-47495-00-00
Unavailable
31
BOLT, HEXAGON
97017-06025-00
Unavailable
32
WASHER, PLATE
90201-06747-00
Unavailable
33
NUT, NYLON
95707-06300-00
Unavailable
34
SHOCK ABSORBER 2
8ED-47481-00-00
Unavailable
35
COLLAR (8U7)
90387-145G7-00
Unavailable
36
COLLAR (8U7)
90387-105G5-00
Unavailable
37
BOLT(88R)
90101-10738-00
Unavailable
38
NUT, U
95617-10100-00
Unavailable
39
BRACKET 4
8ED-47418-00-00
Unavailable
41
BOLT, FLANGE(8AB)
95817-08020-00
Unavailable
42
WASHER, PLATE (4X7)
90201-105A2-00
Unavailable
43
SHAFT 4
8CR-47486-00-00
Unavailable
44
WASHER, PLATE (17K)
90201-106F2-00
Unavailable
46
BRACKET 2
8CR-47416-10-00
Unavailable
47
SHAFT 6
8CR-47488-00-00
Unavailable
48
BUSH, SOLID(8CM)
90381-22099-00
Unavailable
49
WASHER, PLATE(1KE)
90201-207J5-00
Unavailable
50
BOLT (8V0)
90109-10771-00
Unavailable
51
WASHER, PLATE (17K)
90201-106F2-00
Unavailable
52
ARM, PIVOT 2
8CR-47332-10-00
Unavailable
53
SHAFT 2
8CY-47475-01-00
Unavailable
54
WASHER, PLATE (8V2)
90201-251G8-00
Unavailable
55
WASHER, PLATE(8CJ)
90201-250T6-00
Unavailable
56
BOLT (8V0)
90109-10771-00
Unavailable
57
BUSH, SOLID(8CJ)
90381-28108-00
Unavailable
58
COLLAR
90387-2510A-00
Unavailable
59
BRACKET 3
8ED-47417-01-00
Unavailable
61
SHAFT 3
82M-47485-02-00
Unavailable
62
WASHER PLATE (789)
90201-10136-00
Unavailable
63
NUT, SELF-LOCKING
90185-08169-00
Unavailable
64
BOLT, FLANGE
95827-08220-00
Unavailable
65
COLLAR (8U7)
90387-083G6-00
Unavailable
66
SHOCK ABSORBER
8ED-47480-00-00
Unavailable
67
SPRING 1 (K=3.0-5.0)
8CS-47489-00-00
Unavailable
67
SPRING 1
8CW-47489-00-00
Unavailable
68
BOLT, ADJUSTING
8AC-4631K-00-00
Unavailable
69
COLLAR(8CJ)
90387-1009S-00
Unavailable
70
WASHER, PLATE
90201-10039-00
Unavailable
71
WASHER, PLATE(8BT)
90201-100U1-00
Unavailable
72
BUSH, SOLID(8CM)
90381-14101-00
Unavailable
73
COLLAR(8CM)
90387-1404R-00
Unavailable
74
NUT, U
95617-10100-00
Unavailable
75
ROD, RELAY
8CR-47494-01-00
Unavailable
76
BUSH, SOLID(8CJ)
90381-14109-00
Unavailable
77
COLLAR(87A)
90387-100X3-00
Unavailable
78
BOLT, FLANGE
95817-10035-00
Unavailable
79
BOLT, FLANGE
95814-10040-00
Unavailable
80
WASHER, PLATE(8BT)
90201-100U1-00
Unavailable
81
BOLT(88R)
90101-10738-00
Unavailable
82
COLLAR (8U7)
90387-105G5-00
Unavailable
83
ROD, CONTROL 1
8ED-4745A-00-00
Unavailable
84
ROD, CONTROL 2
8CR-4745B-00-00
Unavailable
85
BUSH, BIMETAL FORMED(8CJ)
90384-16251-00
Unavailable
86
WASHER, PLATE(8CJ)
90202-16229-00
Unavailable
87
WASHER, PLATE(8CJ)
90202-16231-00
Unavailable
88
WASHER, PLATE (17K)
90201-106F2-00
Unavailable
89
BOLT(6TD)
97017-10025-00
Unavailable
90
NIPPLE, GREASE
93700-06M03-00
Unavailable
91
BUSH, SOLID(8CM)
90380-22232-00
Unavailable
92
BUSH, SOLID(8CJ)
90380-28235-00
Unavailable
93
SCREW, REAR PIVOT
8DF-47367-09-00
Unavailable
94
WASHER, PLATE(JN9)
90201-100S2-00
Unavailable
95
SHAFT 3
82M-47485-02-00
Unavailable
96
WASHER PLATE (789)
90201-10136-00
Unavailable
97
COLLAR 3
8K2-47479-01-00
Unavailable
98
NUT, NYLON
95707-10300-00
Unavailable
