- Partiron
- OEM Parts
- Yamaha
- snowmobile
- 1997
- MM700A (MOUNTAIN MAX 700) 8CP1 1997
CYLINDER HEAD FOR MM700
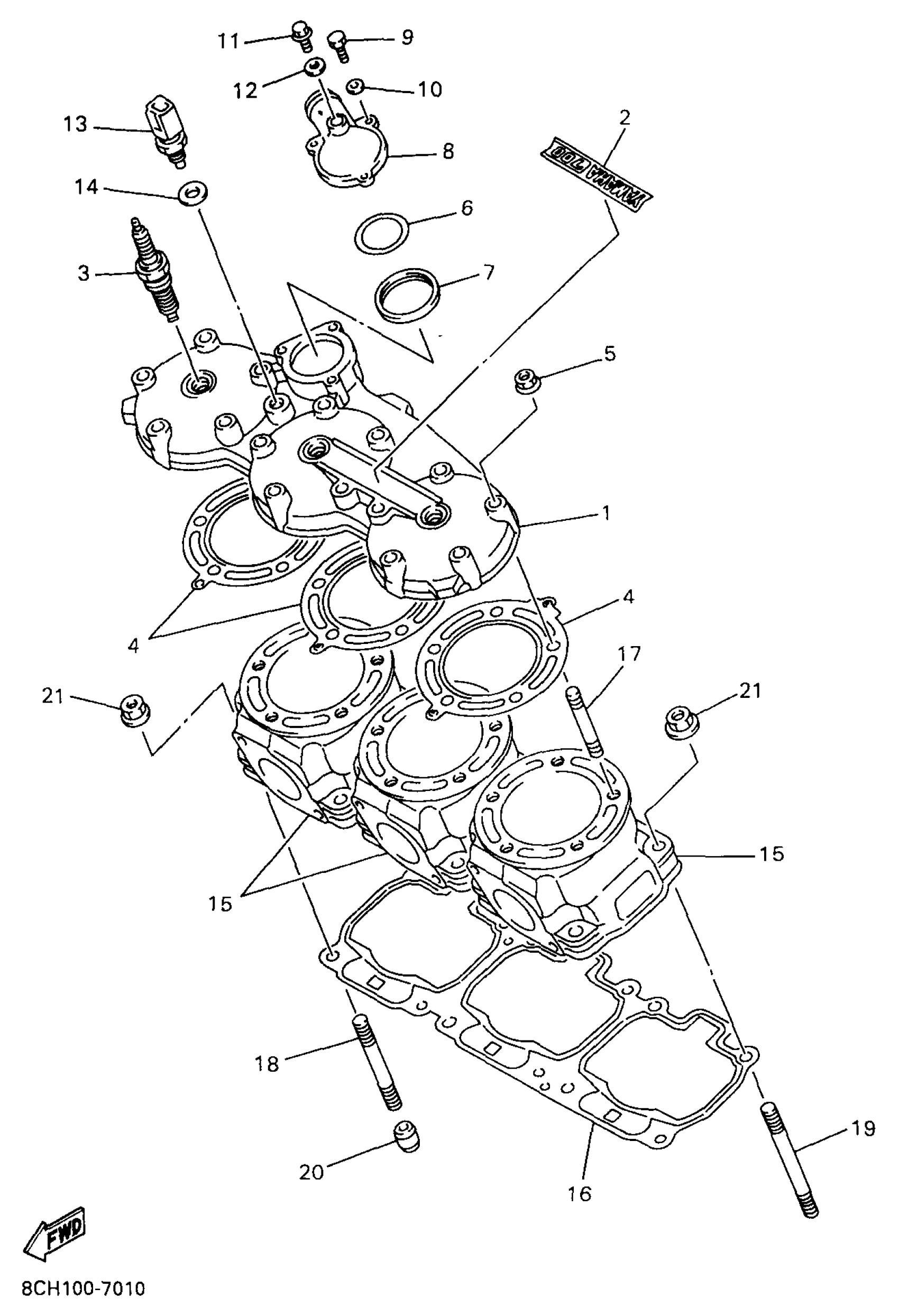
Yamaha MM700A (MOUNTAIN MAX 700) 8CP1 1997 CYLINDER HEAD FOR MM700 Diagram
#
Description
Price
1
HEAD,CYLINDER 1
8CH-11111-01-00
Unavailable
2
EMBLEM
8CH-1111K-00-00
Unavailable
3
BR9ES NGK SOLID TOP PLUG 4PK
BR9-ES01P-C0-00
Unavailable
8
COVER, THERMOSTAT
82M-12413-00-00
Unavailable
15
CYLINDER 1
8CH-11311-02-00
Unavailable
16
GASKET, CYLINDER
8CH-11351-00-00
Unavailable
17
BOLT, STUD (5X4)
90116-08392-00
Unavailable
18
BOLT STUD 363111790000
90116-08104-00
Unavailable
19
BOLT, STUD (8H8)
90116-08302-00
Unavailable
20
PIN, DOWEL(3VD)
99530-10114-00
Unavailable
