- Partiron
- OEM Parts
- Yamaha
- snowmobile
- 1997
- MM700A (MOUNTAIN MAX 700) 8CP1 1997
ALTERNATE ELECTRIC STARTER KIT MM600
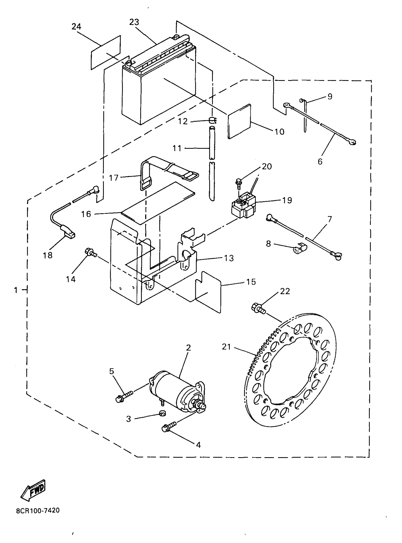
Yamaha MM700A (MOUNTAIN MAX 700) 8CP1 1997 ALTERNATE ELECTRIC STARTER KIT MM600 Diagram
#
Description
Price
1
STARTING MOTOR SET
8CR-W8180-00-00
Unavailable
2
STARTING MOTOR ASSY
8CW-81800-01-00
Unavailable
5
BOLT, FLANGE(4ES)
95027-08080-00
Unavailable
6
. WIRE, MINUS LEAD
8CW-82116-00-00
Unavailable
7
. WIRE, LEAD
8CW-82117-00-00
Unavailable
8
. CLAMP
90465-10381-00
Unavailable
10
DAMPER
8CW-82176-00-00
Unavailable
11
PIPE (L320)
8CW-8235W-01-00
Unavailable
13
. BRACKET, BATTERY
8CW-2199G-00-00
Unavailable
15
. SHIELD, HEAT
8CW-2199H-00-00
Unavailable
16
SEAT, BATTERY
84N-82122-00-00
Unavailable
17
BAND, BATTERY
1E6-82131-00-00
Unavailable
18
. WIRE, PLUS LEAD
8CW-82115-00-00
Unavailable
19
STARTER RELAY ASSY (RC19-016)
3EL-81940-02-00
Unavailable
20
BOLT, SMALL FLANGE
95027-06008-00
Unavailable
21
GEAR 1
8DM-1760A-18-00
Unavailable
22
BOLT,CAP
8DV-17617-10-00
Unavailable
23
YB16ALA2 YUASA BATTERY
YB1-6ALA2-00-00
Unavailable
24
LABEL, BATTERY
40A-82141-G0-00
Unavailable
