Partiron

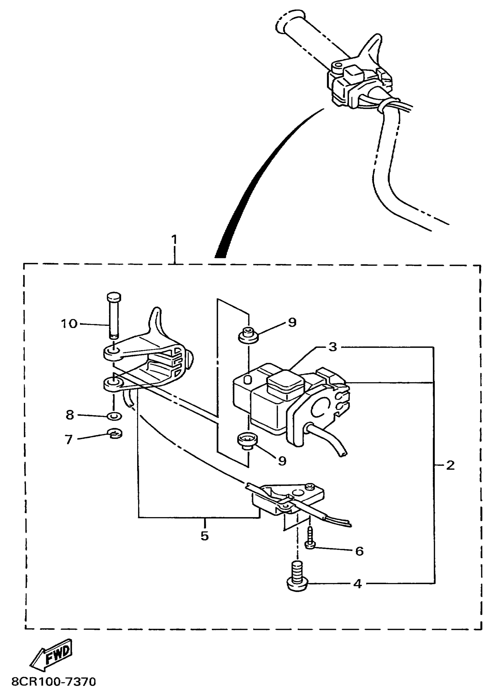
Yamaha MM600PC (MOUNTAIN MAX 600) 8CS3 1999 HANDLE SWITCH LEVER Diagram

#

Description
Price

1

LEVER HOLDER ASY 2

8AB-82720-00-00

Unavailable

2

. SWITCH, HANDLE 3 (RIGHT)

8AV-83963-00-00

Unavailable

3

ENGINE STOP SWITCH ASSY

8AU-82575-09-00

$114.99

4

SCREW, ADJUSTING

84M-83928-00-00

$2.29

5

THUMB WARMER ASSY

8AB-82970-00-00

$146.99

6

SCREW, TAPPING(3NX)

97707-30514-00

Unavailable

7

CIRCLIP (EU0)

99080-04600-00

Unavailable

8

WASHER, SPECIAL

85G-83663-00-00

$8.99

9

CAP 1

85G-83956-00-00

$7.99

10

SHAFT

8R6-8399F-00-00

$13.99