- Partiron
- OEM Parts
- Polaris
- ATV
- 1996
- MAGNUM 6X6 - W968744
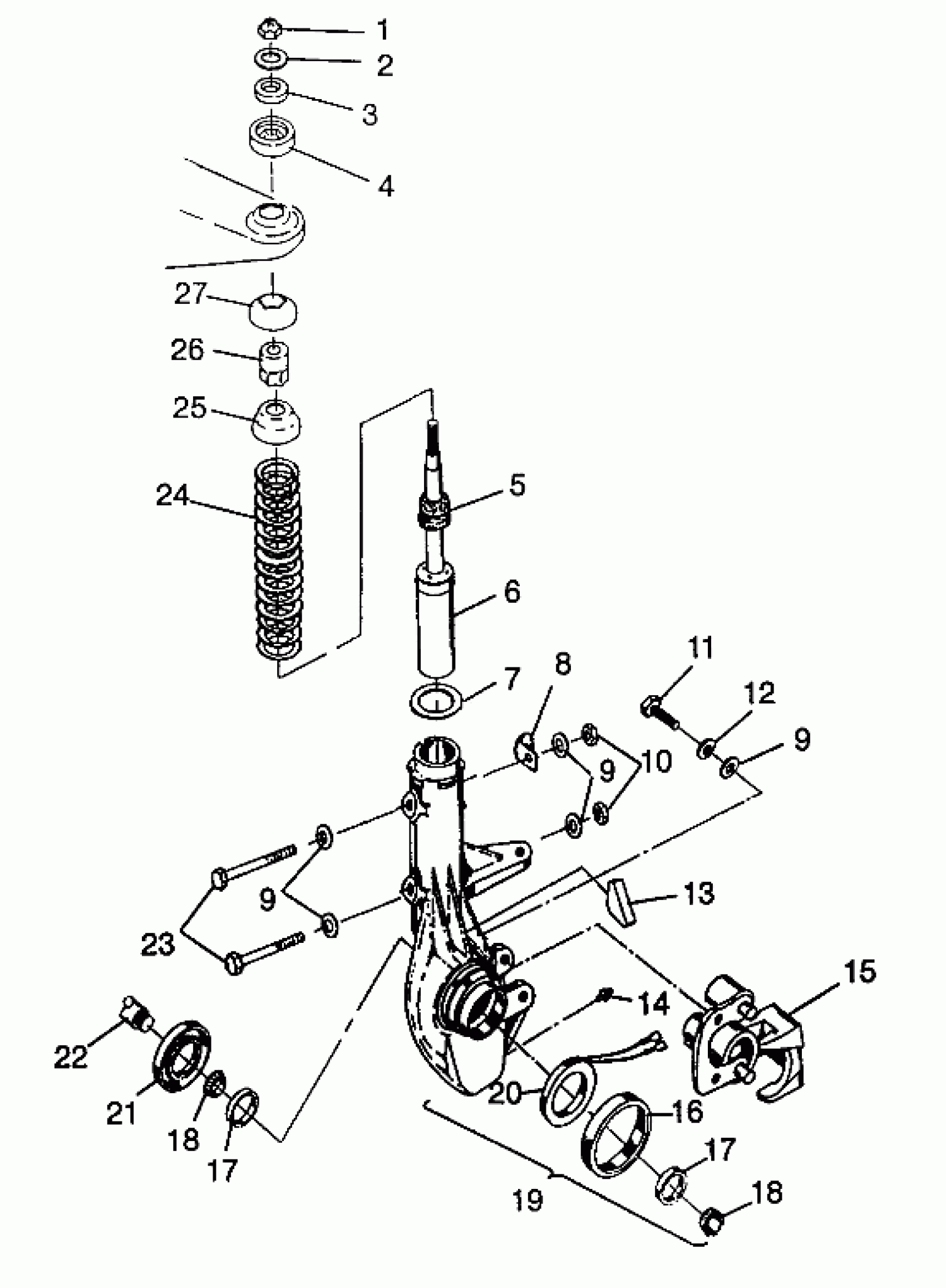
FRONT STRUT Magnum 6X6 - W968744 and Magnum 6X6 Swedish - S968744 (4936073607B007)
Polaris MAGNUM 6X6 - W968744 FRONT STRUT Magnum 6X6 - W968744 and Magnum 6X6 Swedish - S968744 (4936073607B007) Diagram
#
Description
Price
4
PIVOT BALL, TOP Substituted by 5432872
5430806
Unavailable
5
BUMPER, STRUT Substituted by 5411468
5410791
Unavailable
6
STRUT,FRONT,32MM. Substituted by 7041755
7041374
Unavailable
13
RETAINER,WIRE,STRUT CAST
5810439
Unavailable
15
Asm., Front Brake Caliper, RH (See Pg. B9)
-------
Unavailable
19
HUBSTRUT ASM,LH,HVY. Substituted by 2200975 (32mm), Heavy (Incl. 13, 14, 17, 20, 21)
2200609
Unavailable
19
HUBSTRUT ASM,RH,HVY. Substituted by 2200976 (32mm), Heavy (Incl. 13, 14, 17, 20, 21)
2200610
Unavailable
22
Asm., Drive Shaft w/Sleeve (See Pg. B5, Ref. 13)
-------
Unavailable
24
SPRING,COIL(STRUT),BLK.
7041450-067
Unavailable
25
RETAINER,SPRING,TOP
5220602
Unavailable
27
PIVOT BALL,BOTTOM Substituted by 5432871
5430807
Unavailable
