Polaris MAGNUM 4X4 - W98AC42A GEAR SELECTOR - W98AC42A (4945214521C014) Diagram
#
Description
Price
-
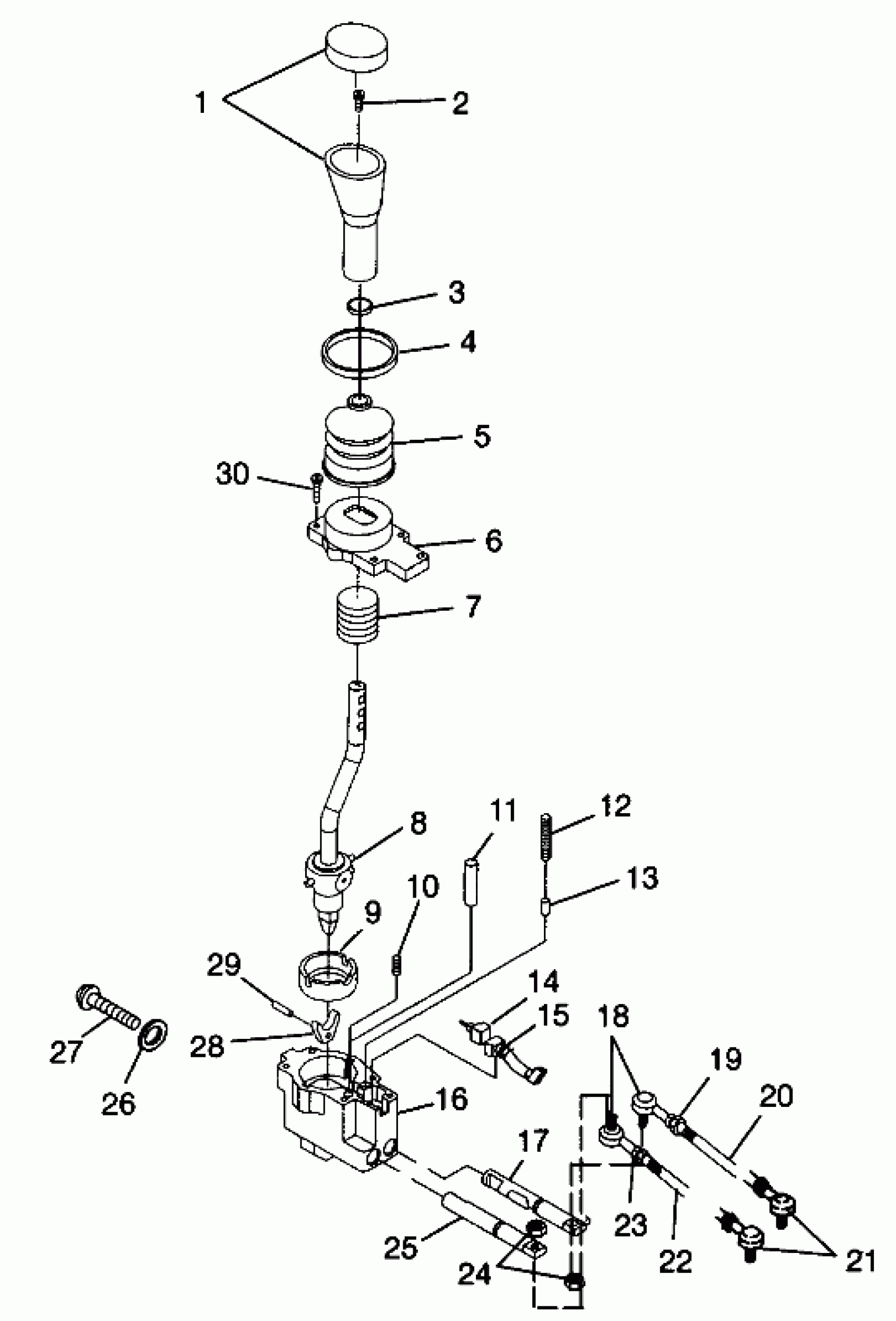
SELECTOR ASM,GEAR,CON,MAG (See Footnote) (US)(SWED) (Incl. 1-17,25,28-30)
1341219
Unavailable
-
SELECT.ASM,GEAR,MAG,NOR,W/CON (NOR) (Incl. 1-17,25,28-30)
1341236
Unavailable
4
CLAMP
3233132
Unavailable
6
COVER,GEAR SELECTOR
3233213
Unavailable
7
SPRING,HOLDING
3233158
Unavailable
8
HANDLE SUBASM,(GS MAGNUM)
3233227
Unavailable
10
SPRING,CENTERING
3233083
Unavailable
11
PIN, STOP
3233062
Unavailable
12
SPRING,DETENT
3233069
Unavailable
14
SW,GEARSELECT,W/THRM.JKT.
3233455
Unavailable
16
BODY,GEAR SELECTOR
3233216
Unavailable
17
SLIDE ASM,HIGH/REV
3233217
Unavailable
20
SHIFT,ROD,LINKAGE,HIGH RANGE
5020703
Unavailable
22
SHIFT,ROD,LINKAGE,LOW RANGE
5020702
Unavailable
24
NUT(10) Substituted by 7546703
7546707
Unavailable
25
SLIDE ASM,LOW
3233218
Unavailable
26
WASHER(10) Substituted by 7558301
7555776
Unavailable
28
INTERLOCK,BUTTERFLY
3233084
Unavailable
29
PIN,INTERLOCK
3233070
Unavailable
30
SCREW Substituted by 3233498
3233085
Unavailable
